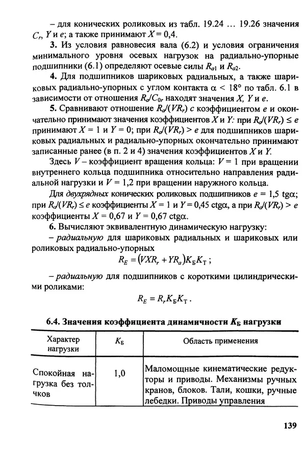
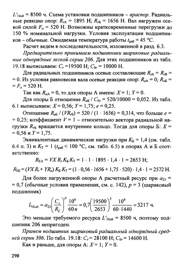
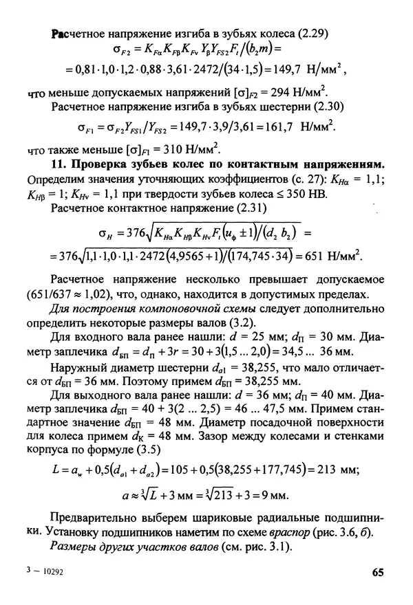
КулЛиб - Классная библиотека! Скачать книги бесплатно
Всего книг - 807594 томов
Объем библиотеки - 2154 Гб.
Всего авторов - 304985
Пользователей - 130514

Новое на форуме

Впечатления

Serg55 про Воронков: Бойся своих желаний (Фэнтези: прочее)

ГГ крут,но регулярно попадает ...как пацан

Рейтинг: 0 ( 0 за, 0 против)
Морпех про Стаут: Черные орхидеи (Детектив)

Замечания к предыдущей версии:

Рейтинг: 0 ( 0 за, 0 против)
yan.litt про Зубов: Последний попаданец (Боевая фантастика)

Прочитал 4.5 книги общее впечатление на четверку.
ГГ - ивалид, который при операции попал в новый мир, где есть система и прокачка. Ну попал он и фиг с ним - с кем не бывает. В общем попал он и давай осваиваться. Нашел себе учителя, который ему все показал и рассказал, сводил в проклятое место и прокачал малек. Ну а потом, учителя убивают и наш херой отправился в самостоятельноя плавание
Плюсы
1. Сюжет довольно динамический, постоянно

  подробнее ...

Рейтинг: +2 ( 2 за, 0 против)
iwanwed про Корнеев: Врач из будущего (Альтернативная история)

Жуткая антисоветчина! А как известно, поскреби получше любого антисоветчика - получишь русофоба.

Рейтинг: 0 ( 2 за, 2 против)
Serg55 про Воронков: Артефактор (Попаданцы)

как то обидно, ладно не хочет сувать кому попало, но обидеть женщину - не дать сделатть минет?

Рейтинг: +1 ( 1 за, 0 против)

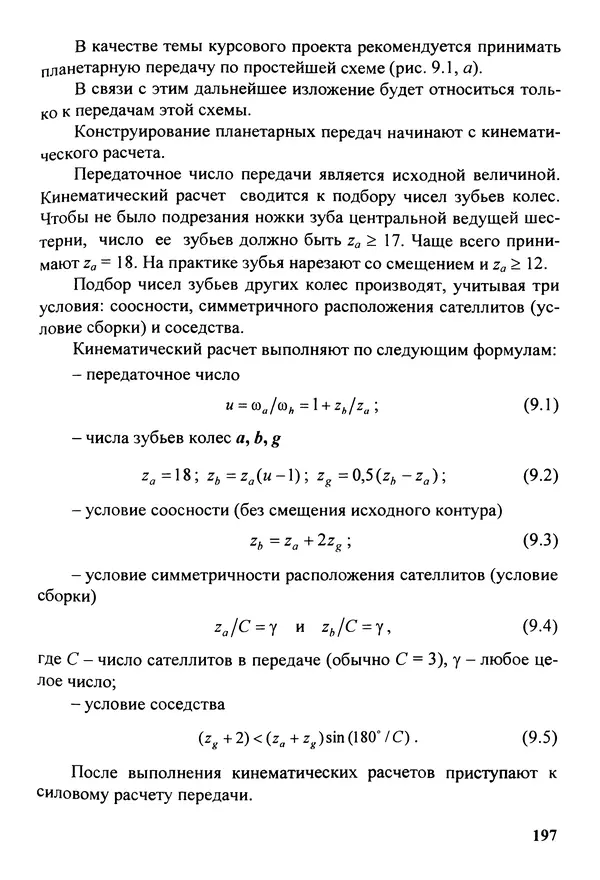
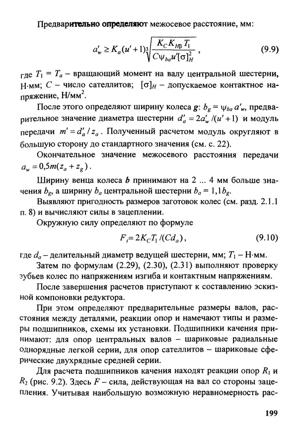
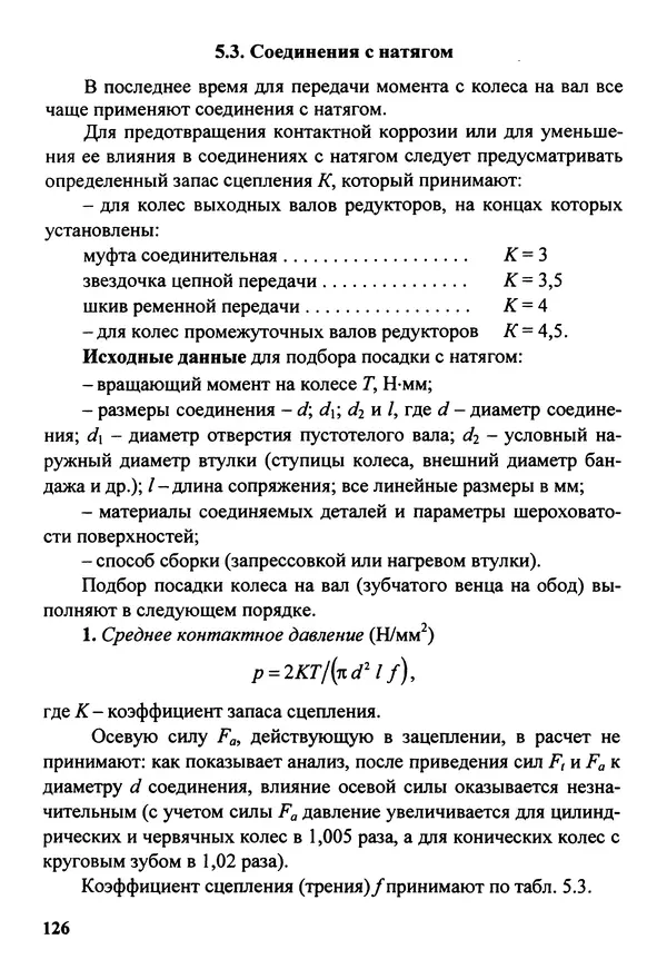
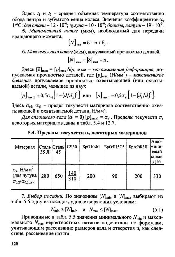
Детали машин. Курсовое проектирование: Учеб, пособие для машиностроит. спец, учреждений среднего профессионального образования. - 5-е издание, дополн. [Петр Федорович Дунаев] (djvu) читать онлайн

Книга в формате djvu! Изображения и текст могут не отображаться!


 [Настройки текста]  [Cбросить фильтры]

Петр Дунаев - Детали машин. Курсовое проектирование: Учеб, пособие для машиностроит. спец, учреждений среднего профессионального образования. - 5-е издание, дополн.

Петр Дунаев - Детали машин. Курсовое проектирование: Учеб, пособие для машиностроит. спец, учреждений среднего профессионального образования. - 5-е издание, дополн. - Страница № 1

Петр Дунаев - Детали машин. Курсовое проектирование: Учеб, пособие для машиностроит. спец, учреждений среднего профессионального образования. - 5-е издание, дополн. - Страница № 2

Петр Дунаев - Детали машин. Курсовое проектирование: Учеб, пособие для машиностроит. спец, учреждений среднего профессионального образования. - 5-е издание, дополн. - Страница № 3

Петр Дунаев - Детали машин. Курсовое проектирование: Учеб, пособие для машиностроит. спец, учреждений среднего профессионального образования. - 5-е издание, дополн. - Страница № 4

Петр Дунаев - Детали машин. Курсовое проектирование: Учеб, пособие для машиностроит. спец, учреждений среднего профессионального образования. - 5-е издание, дополн. - Страница № 5

Петр Дунаев - Детали машин. Курсовое проектирование: Учеб, пособие для машиностроит. спец, учреждений среднего профессионального образования. - 5-е издание, дополн. - Страница № 6

Петр Дунаев - Детали машин. Курсовое проектирование: Учеб, пособие для машиностроит. спец, учреждений среднего профессионального образования. - 5-е издание, дополн. - Страница № 7

Петр Дунаев - Детали машин. Курсовое проектирование: Учеб, пособие для машиностроит. спец, учреждений среднего профессионального образования. - 5-е издание, дополн. - Страница № 8

Петр Дунаев - Детали машин. Курсовое проектирование: Учеб, пособие для машиностроит. спец, учреждений среднего профессионального образования. - 5-е издание, дополн. - Страница № 9

Петр Дунаев - Детали машин. Курсовое проектирование: Учеб, пособие для машиностроит. спец, учреждений среднего профессионального образования. - 5-е издание, дополн. - Страница № 10

Петр Дунаев - Детали машин. Курсовое проектирование: Учеб, пособие для машиностроит. спец, учреждений среднего профессионального образования. - 5-е издание, дополн. - Страница № 11

Петр Дунаев - Детали машин. Курсовое проектирование: Учеб, пособие для машиностроит. спец, учреждений среднего профессионального образования. - 5-е издание, дополн. - Страница № 12

Петр Дунаев - Детали машин. Курсовое проектирование: Учеб, пособие для машиностроит. спец, учреждений среднего профессионального образования. - 5-е издание, дополн. - Страница № 13

Петр Дунаев - Детали машин. Курсовое проектирование: Учеб, пособие для машиностроит. спец, учреждений среднего профессионального образования. - 5-е издание, дополн. - Страница № 14

Петр Дунаев - Детали машин. Курсовое проектирование: Учеб, пособие для машиностроит. спец, учреждений среднего профессионального образования. - 5-е издание, дополн. - Страница № 15

Петр Дунаев - Детали машин. Курсовое проектирование: Учеб, пособие для машиностроит. спец, учреждений среднего профессионального образования. - 5-е издание, дополн. - Страница № 16

Петр Дунаев - Детали машин. Курсовое проектирование: Учеб, пособие для машиностроит. спец, учреждений среднего профессионального образования. - 5-е издание, дополн. - Страница № 17

Петр Дунаев - Детали машин. Курсовое проектирование: Учеб, пособие для машиностроит. спец, учреждений среднего профессионального образования. - 5-е издание, дополн. - Страница № 18

Петр Дунаев - Детали машин. Курсовое проектирование: Учеб, пособие для машиностроит. спец, учреждений среднего профессионального образования. - 5-е издание, дополн. - Страница № 19

Петр Дунаев - Детали машин. Курсовое проектирование: Учеб, пособие для машиностроит. спец, учреждений среднего профессионального образования. - 5-е издание, дополн. - Страница № 20

Петр Дунаев - Детали машин. Курсовое проектирование: Учеб, пособие для машиностроит. спец, учреждений среднего профессионального образования. - 5-е издание, дополн. - Страница № 21

Петр Дунаев - Детали машин. Курсовое проектирование: Учеб, пособие для машиностроит. спец, учреждений среднего профессионального образования. - 5-е издание, дополн. - Страница № 22

Петр Дунаев - Детали машин. Курсовое проектирование: Учеб, пособие для машиностроит. спец, учреждений среднего профессионального образования. - 5-е издание, дополн. - Страница № 23

Петр Дунаев - Детали машин. Курсовое проектирование: Учеб, пособие для машиностроит. спец, учреждений среднего профессионального образования. - 5-е издание, дополн. - Страница № 24

Петр Дунаев - Детали машин. Курсовое проектирование: Учеб, пособие для машиностроит. спец, учреждений среднего профессионального образования. - 5-е издание, дополн. - Страница № 25

Петр Дунаев - Детали машин. Курсовое проектирование: Учеб, пособие для машиностроит. спец, учреждений среднего профессионального образования. - 5-е издание, дополн. - Страница № 26

Петр Дунаев - Детали машин. Курсовое проектирование: Учеб, пособие для машиностроит. спец, учреждений среднего профессионального образования. - 5-е издание, дополн. - Страница № 27

Петр Дунаев - Детали машин. Курсовое проектирование: Учеб, пособие для машиностроит. спец, учреждений среднего профессионального образования. - 5-е издание, дополн. - Страница № 28

Петр Дунаев - Детали машин. Курсовое проектирование: Учеб, пособие для машиностроит. спец, учреждений среднего профессионального образования. - 5-е издание, дополн. - Страница № 29

Петр Дунаев - Детали машин. Курсовое проектирование: Учеб, пособие для машиностроит. спец, учреждений среднего профессионального образования. - 5-е издание, дополн. - Страница № 30

Петр Дунаев - Детали машин. Курсовое проектирование: Учеб, пособие для машиностроит. спец, учреждений среднего профессионального образования. - 5-е издание, дополн. - Страница № 31

Петр Дунаев - Детали машин. Курсовое проектирование: Учеб, пособие для машиностроит. спец, учреждений среднего профессионального образования. - 5-е издание, дополн. - Страница № 32

Петр Дунаев - Детали машин. Курсовое проектирование: Учеб, пособие для машиностроит. спец, учреждений среднего профессионального образования. - 5-е издание, дополн. - Страница № 33

Петр Дунаев - Детали машин. Курсовое проектирование: Учеб, пособие для машиностроит. спец, учреждений среднего профессионального образования. - 5-е издание, дополн. - Страница № 34

Петр Дунаев - Детали машин. Курсовое проектирование: Учеб, пособие для машиностроит. спец, учреждений среднего профессионального образования. - 5-е издание, дополн. - Страница № 35

Петр Дунаев - Детали машин. Курсовое проектирование: Учеб, пособие для машиностроит. спец, учреждений среднего профессионального образования. - 5-е издание, дополн. - Страница № 36

Петр Дунаев - Детали машин. Курсовое проектирование: Учеб, пособие для машиностроит. спец, учреждений среднего профессионального образования. - 5-е издание, дополн. - Страница № 37

Петр Дунаев - Детали машин. Курсовое проектирование: Учеб, пособие для машиностроит. спец, учреждений среднего профессионального образования. - 5-е издание, дополн. - Страница № 38

Петр Дунаев - Детали машин. Курсовое проектирование: Учеб, пособие для машиностроит. спец, учреждений среднего профессионального образования. - 5-е издание, дополн. - Страница № 39

Петр Дунаев - Детали машин. Курсовое проектирование: Учеб, пособие для машиностроит. спец, учреждений среднего профессионального образования. - 5-е издание, дополн. - Страница № 40

Петр Дунаев - Детали машин. Курсовое проектирование: Учеб, пособие для машиностроит. спец, учреждений среднего профессионального образования. - 5-е издание, дополн. - Страница № 41

Петр Дунаев - Детали машин. Курсовое проектирование: Учеб, пособие для машиностроит. спец, учреждений среднего профессионального образования. - 5-е издание, дополн. - Страница № 42

Петр Дунаев - Детали машин. Курсовое проектирование: Учеб, пособие для машиностроит. спец, учреждений среднего профессионального образования. - 5-е издание, дополн. - Страница № 43

Петр Дунаев - Детали машин. Курсовое проектирование: Учеб, пособие для машиностроит. спец, учреждений среднего профессионального образования. - 5-е издание, дополн. - Страница № 44

Петр Дунаев - Детали машин. Курсовое проектирование: Учеб, пособие для машиностроит. спец, учреждений среднего профессионального образования. - 5-е издание, дополн. - Страница № 45

Петр Дунаев - Детали машин. Курсовое проектирование: Учеб, пособие для машиностроит. спец, учреждений среднего профессионального образования. - 5-е издание, дополн. - Страница № 46

Петр Дунаев - Детали машин. Курсовое проектирование: Учеб, пособие для машиностроит. спец, учреждений среднего профессионального образования. - 5-е издание, дополн. - Страница № 47

Петр Дунаев - Детали машин. Курсовое проектирование: Учеб, пособие для машиностроит. спец, учреждений среднего профессионального образования. - 5-е издание, дополн. - Страница № 48

Петр Дунаев - Детали машин. Курсовое проектирование: Учеб, пособие для машиностроит. спец, учреждений среднего профессионального образования. - 5-е издание, дополн. - Страница № 49

Петр Дунаев - Детали машин. Курсовое проектирование: Учеб, пособие для машиностроит. спец, учреждений среднего профессионального образования. - 5-е издание, дополн. - Страница № 50

Петр Дунаев - Детали машин. Курсовое проектирование: Учеб, пособие для машиностроит. спец, учреждений среднего профессионального образования. - 5-е издание, дополн. - Страница № 51

Петр Дунаев - Детали машин. Курсовое проектирование: Учеб, пособие для машиностроит. спец, учреждений среднего профессионального образования. - 5-е издание, дополн. - Страница № 52

Петр Дунаев - Детали машин. Курсовое проектирование: Учеб, пособие для машиностроит. спец, учреждений среднего профессионального образования. - 5-е издание, дополн. - Страница № 53

Петр Дунаев - Детали машин. Курсовое проектирование: Учеб, пособие для машиностроит. спец, учреждений среднего профессионального образования. - 5-е издание, дополн. - Страница № 54

Петр Дунаев - Детали машин. Курсовое проектирование: Учеб, пособие для машиностроит. спец, учреждений среднего профессионального образования. - 5-е издание, дополн. - Страница № 55

Петр Дунаев - Детали машин. Курсовое проектирование: Учеб, пособие для машиностроит. спец, учреждений среднего профессионального образования. - 5-е издание, дополн. - Страница № 56

Петр Дунаев - Детали машин. Курсовое проектирование: Учеб, пособие для машиностроит. спец, учреждений среднего профессионального образования. - 5-е издание, дополн. - Страница № 57

Петр Дунаев - Детали машин. Курсовое проектирование: Учеб, пособие для машиностроит. спец, учреждений среднего профессионального образования. - 5-е издание, дополн. - Страница № 58

Петр Дунаев - Детали машин. Курсовое проектирование: Учеб, пособие для машиностроит. спец, учреждений среднего профессионального образования. - 5-е издание, дополн. - Страница № 59

Петр Дунаев - Детали машин. Курсовое проектирование: Учеб, пособие для машиностроит. спец, учреждений среднего профессионального образования. - 5-е издание, дополн. - Страница № 60

Петр Дунаев - Детали машин. Курсовое проектирование: Учеб, пособие для машиностроит. спец, учреждений среднего профессионального образования. - 5-е издание, дополн. - Страница № 61

Петр Дунаев - Детали машин. Курсовое проектирование: Учеб, пособие для машиностроит. спец, учреждений среднего профессионального образования. - 5-е издание, дополн. - Страница № 62

Петр Дунаев - Детали машин. Курсовое проектирование: Учеб, пособие для машиностроит. спец, учреждений среднего профессионального образования. - 5-е издание, дополн. - Страница № 63

Петр Дунаев - Детали машин. Курсовое проектирование: Учеб, пособие для машиностроит. спец, учреждений среднего профессионального образования. - 5-е издание, дополн. - Страница № 64

Петр Дунаев - Детали машин. Курсовое проектирование: Учеб, пособие для машиностроит. спец, учреждений среднего профессионального образования. - 5-е издание, дополн. - Страница № 65

Петр Дунаев - Детали машин. Курсовое проектирование: Учеб, пособие для машиностроит. спец, учреждений среднего профессионального образования. - 5-е издание, дополн. - Страница № 66

Петр Дунаев - Детали машин. Курсовое проектирование: Учеб, пособие для машиностроит. спец, учреждений среднего профессионального образования. - 5-е издание, дополн. - Страница № 67

Петр Дунаев - Детали машин. Курсовое проектирование: Учеб, пособие для машиностроит. спец, учреждений среднего профессионального образования. - 5-е издание, дополн. - Страница № 68

Петр Дунаев - Детали машин. Курсовое проектирование: Учеб, пособие для машиностроит. спец, учреждений среднего профессионального образования. - 5-е издание, дополн. - Страница № 69

Петр Дунаев - Детали машин. Курсовое проектирование: Учеб, пособие для машиностроит. спец, учреждений среднего профессионального образования. - 5-е издание, дополн. - Страница № 70

Петр Дунаев - Детали машин. Курсовое проектирование: Учеб, пособие для машиностроит. спец, учреждений среднего профессионального образования. - 5-е издание, дополн. - Страница № 71

Петр Дунаев - Детали машин. Курсовое проектирование: Учеб, пособие для машиностроит. спец, учреждений среднего профессионального образования. - 5-е издание, дополн. - Страница № 72

Петр Дунаев - Детали машин. Курсовое проектирование: Учеб, пособие для машиностроит. спец, учреждений среднего профессионального образования. - 5-е издание, дополн. - Страница № 73

Петр Дунаев - Детали машин. Курсовое проектирование: Учеб, пособие для машиностроит. спец, учреждений среднего профессионального образования. - 5-е издание, дополн. - Страница № 74

Петр Дунаев - Детали машин. Курсовое проектирование: Учеб, пособие для машиностроит. спец, учреждений среднего профессионального образования. - 5-е издание, дополн. - Страница № 75

Петр Дунаев - Детали машин. Курсовое проектирование: Учеб, пособие для машиностроит. спец, учреждений среднего профессионального образования. - 5-е издание, дополн. - Страница № 76

Петр Дунаев - Детали машин. Курсовое проектирование: Учеб, пособие для машиностроит. спец, учреждений среднего профессионального образования. - 5-е издание, дополн. - Страница № 77

Петр Дунаев - Детали машин. Курсовое проектирование: Учеб, пособие для машиностроит. спец, учреждений среднего профессионального образования. - 5-е издание, дополн. - Страница № 78

Петр Дунаев - Детали машин. Курсовое проектирование: Учеб, пособие для машиностроит. спец, учреждений среднего профессионального образования. - 5-е издание, дополн. - Страница № 79

Петр Дунаев - Детали машин. Курсовое проектирование: Учеб, пособие для машиностроит. спец, учреждений среднего профессионального образования. - 5-е издание, дополн. - Страница № 80

Петр Дунаев - Детали машин. Курсовое проектирование: Учеб, пособие для машиностроит. спец, учреждений среднего профессионального образования. - 5-е издание, дополн. - Страница № 81

Петр Дунаев - Детали машин. Курсовое проектирование: Учеб, пособие для машиностроит. спец, учреждений среднего профессионального образования. - 5-е издание, дополн. - Страница № 82

Петр Дунаев - Детали машин. Курсовое проектирование: Учеб, пособие для машиностроит. спец, учреждений среднего профессионального образования. - 5-е издание, дополн. - Страница № 83

Петр Дунаев - Детали машин. Курсовое проектирование: Учеб, пособие для машиностроит. спец, учреждений среднего профессионального образования. - 5-е издание, дополн. - Страница № 84

Петр Дунаев - Детали машин. Курсовое проектирование: Учеб, пособие для машиностроит. спец, учреждений среднего профессионального образования. - 5-е издание, дополн. - Страница № 85

Петр Дунаев - Детали машин. Курсовое проектирование: Учеб, пособие для машиностроит. спец, учреждений среднего профессионального образования. - 5-е издание, дополн. - Страница № 86

Петр Дунаев - Детали машин. Курсовое проектирование: Учеб, пособие для машиностроит. спец, учреждений среднего профессионального образования. - 5-е издание, дополн. - Страница № 87

Петр Дунаев - Детали машин. Курсовое проектирование: Учеб, пособие для машиностроит. спец, учреждений среднего профессионального образования. - 5-е издание, дополн. - Страница № 88

Петр Дунаев - Детали машин. Курсовое проектирование: Учеб, пособие для машиностроит. спец, учреждений среднего профессионального образования. - 5-е издание, дополн. - Страница № 89

Петр Дунаев - Детали машин. Курсовое проектирование: Учеб, пособие для машиностроит. спец, учреждений среднего профессионального образования. - 5-е издание, дополн. - Страница № 90

Петр Дунаев - Детали машин. Курсовое проектирование: Учеб, пособие для машиностроит. спец, учреждений среднего профессионального образования. - 5-е издание, дополн. - Страница № 91

Петр Дунаев - Детали машин. Курсовое проектирование: Учеб, пособие для машиностроит. спец, учреждений среднего профессионального образования. - 5-е издание, дополн. - Страница № 92

Петр Дунаев - Детали машин. Курсовое проектирование: Учеб, пособие для машиностроит. спец, учреждений среднего профессионального образования. - 5-е издание, дополн. - Страница № 93

Петр Дунаев - Детали машин. Курсовое проектирование: Учеб, пособие для машиностроит. спец, учреждений среднего профессионального образования. - 5-е издание, дополн. - Страница № 94

Петр Дунаев - Детали машин. Курсовое проектирование: Учеб, пособие для машиностроит. спец, учреждений среднего профессионального образования. - 5-е издание, дополн. - Страница № 95

Петр Дунаев - Детали машин. Курсовое проектирование: Учеб, пособие для машиностроит. спец, учреждений среднего профессионального образования. - 5-е издание, дополн. - Страница № 96

Петр Дунаев - Детали машин. Курсовое проектирование: Учеб, пособие для машиностроит. спец, учреждений среднего профессионального образования. - 5-е издание, дополн. - Страница № 97

Петр Дунаев - Детали машин. Курсовое проектирование: Учеб, пособие для машиностроит. спец, учреждений среднего профессионального образования. - 5-е издание, дополн. - Страница № 98

Петр Дунаев - Детали машин. Курсовое проектирование: Учеб, пособие для машиностроит. спец, учреждений среднего профессионального образования. - 5-е издание, дополн. - Страница № 99

Петр Дунаев - Детали машин. Курсовое проектирование: Учеб, пособие для машиностроит. спец, учреждений среднего профессионального образования. - 5-е издание, дополн. - Страница № 100

Петр Дунаев - Детали машин. Курсовое проектирование: Учеб, пособие для машиностроит. спец, учреждений среднего профессионального образования. - 5-е издание, дополн. - Страница № 101

Петр Дунаев - Детали машин.<!--p--><!--p--><!--p--><!--p--><!--p--><!--p--><!--p--><!--p--><!--p--><!--p--><!--p--><!--p--><!--p--><!--p--><!--p--><!--p--><!--p--><!--p--><!--p--><!--p--><!--p--><!--p--><!--p--><!--p--><!--p--><!--p--><!--p--><!--p--><!--p--><!--p--><!--p--><!--p--><!--p--><!--p--><!--p--><!--p--><!--p--><!--p--><!--p--><!--p--><!--p--><!--p--><!--p--><!--p--><!--p--><!--p--><!--p--><!--p--><!--p--><!--p--><!--p--><!--p--><!--p--><!--p--><!--p--><!--p--><!--p--><!--p--><!--p--><!--p--><!--p--><!--p--><!--p--><!--p--><!--p--><!--p--><!--p--><!--p--><!--p--><!--p--><!--p--><!--p--><!--p--><!--p--><!--p--><!--p--><!--p--><!--p--><!--p--><!--p--><!--p--><!--p--><!--p--><!--p--><!--p--><!--p--><!--p--><!--p--><!--p--><!--p--><!--p--><!--p--><!--p--><!--p--><!--p--><!--p--><!--p--><!--p--><!--p--><!--p--><!--p--><!--p-->Курсовое проектирование: Учеб, пособие для машиностроит. спец, учреждений среднего профессионального образования. - 5-е издание, дополн. - Страница № 102

Петр Дунаев - Детали машин. Курсовое проектирование: Учеб, пособие для машиностроит. спец, учреждений среднего профессионального образования. - 5-е издание, дополн. - Страница № 103

Петр Дунаев - Детали машин. Курсовое проектирование: Учеб, пособие для машиностроит. спец, учреждений среднего профессионального образования. - 5-е издание, дополн. - Страница № 104

Петр Дунаев - Детали машин. Курсовое проектирование: Учеб, пособие для машиностроит. спец, учреждений среднего профессионального образования. - 5-е издание, дополн. - Страница № 105

Петр Дунаев - Детали машин. Курсовое проектирование: Учеб, пособие для машиностроит. спец, учреждений среднего профессионального образования. - 5-е издание, дополн. - Страница № 106

Петр Дунаев - Детали машин. Курсовое проектирование: Учеб, пособие для машиностроит. спец, учреждений среднего профессионального образования. - 5-е издание, дополн. - Страница № 107

Петр Дунаев - Детали машин. Курсовое проектирование: Учеб, пособие для машиностроит. спец, учреждений среднего профессионального образования. - 5-е издание, дополн. - Страница № 108

Петр Дунаев - Детали машин. Курсовое проектирование: Учеб, пособие для машиностроит. спец, учреждений среднего профессионального образования. - 5-е издание, дополн. - Страница № 109

Петр Дунаев - Детали машин. Курсовое проектирование: Учеб, пособие для машиностроит. спец, учреждений среднего профессионального образования. - 5-е издание, дополн. - Страница № 110

Петр Дунаев - Детали машин. Курсовое проектирование: Учеб, пособие для машиностроит. спец, учреждений среднего профессионального образования. - 5-е издание, дополн. - Страница № 111

Петр Дунаев - Детали машин. Курсовое проектирование: Учеб, пособие для машиностроит. спец, учреждений среднего профессионального образования. - 5-е издание, дополн. - Страница № 112

Петр Дунаев - Детали машин. Курсовое проектирование: Учеб, пособие для машиностроит. спец, учреждений среднего профессионального образования. - 5-е издание, дополн. - Страница № 113

Петр Дунаев - Детали машин. Курсовое проектирование: Учеб, пособие для машиностроит. спец, учреждений среднего профессионального образования. - 5-е издание, дополн. - Страница № 114

Петр Дунаев - Детали машин. Курсовое проектирование: Учеб, пособие для машиностроит. спец, учреждений среднего профессионального образования. - 5-е издание, дополн. - Страница № 115

Петр Дунаев - Детали машин. Курсовое проектирование: Учеб, пособие для машиностроит. спец, учреждений среднего профессионального образования. - 5-е издание, дополн. - Страница № 116

Петр Дунаев - Детали машин. Курсовое проектирование: Учеб, пособие для машиностроит. спец, учреждений среднего профессионального образования. - 5-е издание, дополн. - Страница № 117

Петр Дунаев - Детали машин. Курсовое проектирование: Учеб, пособие для машиностроит. спец, учреждений среднего профессионального образования. - 5-е издание, дополн. - Страница № 118

Петр Дунаев - Детали машин. Курсовое проектирование: Учеб, пособие для машиностроит. спец, учреждений среднего профессионального образования. - 5-е издание, дополн. - Страница № 119

Петр Дунаев - Детали машин. Курсовое проектирование: Учеб, пособие для машиностроит. спец, учреждений среднего профессионального образования. - 5-е издание, дополн. - Страница № 120

Петр Дунаев - Детали машин. Курсовое проектирование: Учеб, пособие для машиностроит. спец, учреждений среднего профессионального образования. - 5-е издание, дополн. - Страница № 121

Петр Дунаев - Детали машин. Курсовое проектирование: Учеб, пособие для машиностроит. спец, учреждений среднего профессионального образования. - 5-е издание, дополн. - Страница № 122

Петр Дунаев - Детали машин. Курсовое проектирование: Учеб, пособие для машиностроит. спец, учреждений среднего профессионального образования. - 5-е издание, дополн. - Страница № 123

Петр Дунаев - Детали машин. Курсовое проектирование: Учеб, пособие для машиностроит. спец, учреждений среднего профессионального образования. - 5-е издание, дополн. - Страница № 124

Петр Дунаев - Детали машин. Курсовое проектирование: Учеб, пособие для машиностроит. спец, учреждений среднего профессионального образования. - 5-е издание, дополн. - Страница № 125

Петр Дунаев - Детали машин. Курсовое проектирование: Учеб, пособие для машиностроит. спец, учреждений среднего профессионального образования. - 5-е издание, дополн. - Страница № 126

Петр Дунаев - Детали машин. Курсовое проектирование: Учеб, пособие для машиностроит. спец, учреждений среднего профессионального образования. - 5-е издание, дополн. - Страница № 127

Петр Дунаев - Детали машин. Курсовое проектирование: Учеб, пособие для машиностроит. спец, учреждений среднего профессионального образования. - 5-е издание, дополн. - Страница № 128

Петр Дунаев - Детали машин. Курсовое проектирование: Учеб, пособие для машиностроит. спец, учреждений среднего профессионального образования. - 5-е издание, дополн. - Страница № 129

Петр Дунаев - Детали машин. Курсовое проектирование: Учеб, пособие для машиностроит. спец, учреждений среднего профессионального образования. - 5-е издание, дополн. - Страница № 130

Петр Дунаев - Детали машин. Курсовое проектирование: Учеб, пособие для машиностроит. спец, учреждений среднего профессионального образования. - 5-е издание, дополн. - Страница № 131

Петр Дунаев - Детали машин. Курсовое проектирование: Учеб, пособие для машиностроит. спец, учреждений среднего профессионального образования. - 5-е издание, дополн. - Страница № 132

Петр Дунаев - Детали машин. Курсовое проектирование: Учеб, пособие для машиностроит. спец, учреждений среднего профессионального образования. - 5-е издание, дополн. - Страница № 133

Петр Дунаев - Детали машин. Курсовое проектирование: Учеб, пособие для машиностроит. спец, учреждений среднего профессионального образования. - 5-е издание, дополн. - Страница № 134

Петр Дунаев - Детали машин. Курсовое проектирование: Учеб, пособие для машиностроит. спец, учреждений среднего профессионального образования. - 5-е издание, дополн. - Страница № 135

Петр Дунаев - Детали машин. Курсовое проектирование: Учеб, пособие для машиностроит. спец, учреждений среднего профессионального образования. - 5-е издание, дополн. - Страница № 136

Петр Дунаев - Детали машин. Курсовое проектирование: Учеб, пособие для машиностроит. спец, учреждений среднего профессионального образования. - 5-е издание, дополн. - Страница № 137

Петр Дунаев - Детали машин. Курсовое проектирование: Учеб, пособие для машиностроит. спец, учреждений среднего профессионального образования. - 5-е издание, дополн. - Страница № 138

Петр Дунаев - Детали машин. Курсовое проектирование: Учеб, пособие для машиностроит. спец, учреждений среднего профессионального образования. - 5-е издание, дополн. - Страница № 139

Петр Дунаев - Детали машин. Курсовое проектирование: Учеб, пособие для машиностроит. спец, учреждений среднего профессионального образования. - 5-е издание, дополн. - Страница № 140

Петр Дунаев - Детали машин. Курсовое проектирование: Учеб, пособие для машиностроит. спец, учреждений среднего профессионального образования. - 5-е издание, дополн. - Страница № 141

Петр Дунаев - Детали машин. Курсовое проектирование: Учеб, пособие для машиностроит. спец, учреждений среднего профессионального образования. - 5-е издание, дополн. - Страница № 142

Петр Дунаев - Детали машин. Курсовое проектирование: Учеб, пособие для машиностроит. спец, учреждений среднего профессионального образования. - 5-е издание, дополн. - Страница № 143

Петр Дунаев - Детали машин. Курсовое проектирование: Учеб, пособие для машиностроит. спец, учреждений среднего профессионального образования. - 5-е издание, дополн. - Страница № 144

Петр Дунаев - Детали машин. Курсовое проектирование: Учеб, пособие для машиностроит. спец, учреждений среднего профессионального образования. - 5-е издание, дополн. - Страница № 145

Петр Дунаев - Детали машин. Курсовое проектирование: Учеб, пособие для машиностроит. спец, учреждений среднего профессионального образования. - 5-е издание, дополн. - Страница № 146

Петр Дунаев - Детали машин. Курсовое проектирование: Учеб, пособие для машиностроит. спец, учреждений среднего профессионального образования. - 5-е издание, дополн. - Страница № 147

Петр Дунаев - Детали машин. Курсовое проектирование: Учеб, пособие для машиностроит. спец, учреждений среднего профессионального образования. - 5-е издание, дополн. - Страница № 148

Петр Дунаев - Детали машин. Курсовое проектирование: Учеб, пособие для машиностроит. спец, учреждений среднего профессионального образования. - 5-е издание, дополн. - Страница № 149

Петр Дунаев - Детали машин. Курсовое проектирование: Учеб, пособие для машиностроит. спец, учреждений среднего профессионального образования. - 5-е издание, дополн. - Страница № 150

Петр Дунаев - Детали машин. Курсовое проектирование: Учеб, пособие для машиностроит. спец, учреждений среднего профессионального образования. - 5-е издание, дополн. - Страница № 151

Петр Дунаев - Детали машин. Курсовое проектирование: Учеб, пособие для машиностроит. спец, учреждений среднего профессионального образования. - 5-е издание, дополн. - Страница № 152

Петр Дунаев - Детали машин. Курсовое проектирование: Учеб, пособие для машиностроит. спец, учреждений среднего профессионального образования. - 5-е издание, дополн. - Страница № 153

Петр Дунаев - Детали машин. Курсовое проектирование: Учеб, пособие для машиностроит. спец, учреждений среднего профессионального образования. - 5-е издание, дополн. - Страница № 154

Петр Дунаев - Детали машин. Курсовое проектирование: Учеб, пособие для машиностроит. спец, учреждений среднего профессионального образования. - 5-е издание, дополн. - Страница № 155

Петр Дунаев - Детали машин. Курсовое проектирование: Учеб, пособие для машиностроит. спец, учреждений среднего профессионального образования. - 5-е издание, дополн. - Страница № 156

Петр Дунаев - Детали машин. Курсовое проектирование: Учеб, пособие для машиностроит. спец, учреждений среднего профессионального образования. - 5-е издание, дополн. - Страница № 157

Петр Дунаев - Детали машин. Курсовое проектирование: Учеб, пособие для машиностроит. спец, учреждений среднего профессионального образования. - 5-е издание, дополн. - Страница № 158

Петр Дунаев - Детали машин. Курсовое проектирование: Учеб, пособие для машиностроит. спец, учреждений среднего профессионального образования. - 5-е издание, дополн. - Страница № 159

Петр Дунаев - Детали машин. Курсовое проектирование: Учеб, пособие для машиностроит. спец, учреждений среднего профессионального образования. - 5-е издание, дополн. - Страница № 160

Петр Дунаев - Детали машин. Курсовое проектирование: Учеб, пособие для машиностроит. спец, учреждений среднего профессионального образования. - 5-е издание, дополн. - Страница № 161

Петр Дунаев - Детали машин. Курсовое проектирование: Учеб, пособие для машиностроит. спец, учреждений среднего профессионального образования. - 5-е издание, дополн. - Страница № 162

Петр Дунаев - Детали машин. Курсовое проектирование: Учеб, пособие для машиностроит. спец, учреждений среднего профессионального образования. - 5-е издание, дополн. - Страница № 163

Петр Дунаев - Детали машин. Курсовое проектирование: Учеб, пособие для машиностроит. спец, учреждений среднего профессионального образования. - 5-е издание, дополн. - Страница № 164

Петр Дунаев - Детали машин. Курсовое проектирование: Учеб, пособие для машиностроит. спец, учреждений среднего профессионального образования. - 5-е издание, дополн. - Страница № 165

Петр Дунаев - Детали машин. Курсовое проектирование: Учеб, пособие для машиностроит. спец, учреждений среднего профессионального образования. - 5-е издание, дополн. - Страница № 166

Петр Дунаев - Детали машин. Курсовое проектирование: Учеб, пособие для машиностроит. спец, учреждений среднего профессионального образования. - 5-е издание, дополн. - Страница № 167

Петр Дунаев - Детали машин. Курсовое проектирование: Учеб, пособие для машиностроит. спец, учреждений среднего профессионального образования. - 5-е издание, дополн. - Страница № 168

Петр Дунаев - Детали машин. Курсовое проектирование: Учеб, пособие для машиностроит. спец, учреждений среднего профессионального образования. - 5-е издание, дополн. - Страница № 169

Петр Дунаев - Детали машин. Курсовое проектирование: Учеб, пособие для машиностроит. спец, учреждений среднего профессионального образования. - 5-е издание, дополн. - Страница № 170

Петр Дунаев - Детали машин. Курсовое проектирование: Учеб, пособие для машиностроит. спец, учреждений среднего профессионального образования. - 5-е издание, дополн. - Страница № 171

Петр Дунаев - Детали машин. Курсовое проектирование: Учеб, пособие для машиностроит. спец, учреждений среднего профессионального образования. - 5-е издание, дополн. - Страница № 172

Петр Дунаев - Детали машин. Курсовое проектирование: Учеб, пособие для машиностроит. спец, учреждений среднего профессионального образования. - 5-е издание, дополн. - Страница № 173

Петр Дунаев - Детали машин. Курсовое проектирование: Учеб, пособие для машиностроит. спец, учреждений среднего профессионального образования. - 5-е издание, дополн. - Страница № 174

Петр Дунаев - Детали машин. Курсовое проектирование: Учеб, пособие для машиностроит. спец, учреждений среднего профессионального образования. - 5-е издание, дополн. - Страница № 175

Петр Дунаев - Детали машин. Курсовое проектирование: Учеб, пособие для машиностроит. спец, учреждений среднего профессионального образования. - 5-е издание, дополн. - Страница № 176

Петр Дунаев - Детали машин. Курсовое проектирование: Учеб, пособие для машиностроит. спец, учреждений среднего профессионального образования. - 5-е издание, дополн. - Страница № 177

Петр Дунаев - Детали машин. Курсовое проектирование: Учеб, пособие для машиностроит. спец, учреждений среднего профессионального образования. - 5-е издание, дополн. - Страница № 178

Петр Дунаев - Детали машин. Курсовое проектирование: Учеб, пособие для машиностроит. спец, учреждений среднего профессионального образования. - 5-е издание, дополн. - Страница № 179

Петр Дунаев - Детали машин. Курсовое проектирование: Учеб, пособие для машиностроит. спец, учреждений среднего профессионального образования. - 5-е издание, дополн. - Страница № 180

Петр Дунаев - Детали машин. Курсовое проектирование: Учеб, пособие для машиностроит. спец, учреждений среднего профессионального образования. - 5-е издание, дополн. - Страница № 181

Петр Дунаев - Детали машин. Курсовое проектирование: Учеб, пособие для машиностроит. спец, учреждений среднего профессионального образования. - 5-е издание, дополн. - Страница № 182

Петр Дунаев - Детали машин. Курсовое проектирование: Учеб, пособие для машиностроит. спец, учреждений среднего профессионального образования. - 5-е издание, дополн. - Страница № 183

Петр Дунаев - Детали машин. Курсовое проектирование: Учеб, пособие для машиностроит. спец, учреждений среднего профессионального образования. - 5-е издание, дополн. - Страница № 184

Петр Дунаев - Детали машин. Курсовое проектирование: Учеб, пособие для машиностроит. спец, учреждений среднего профессионального образования. - 5-е издание, дополн. - Страница № 185

Петр Дунаев - Детали машин. Курсовое проектирование: Учеб, пособие для машиностроит. спец, учреждений среднего профессионального образования. - 5-е издание, дополн. - Страница № 186

Петр Дунаев - Детали машин. Курсовое проектирование: Учеб, пособие для машиностроит. спец, учреждений среднего профессионального образования. - 5-е издание, дополн. - Страница № 187

Петр Дунаев - Детали машин. Курсовое проектирование: Учеб, пособие для машиностроит. спец, учреждений среднего профессионального образования. - 5-е издание, дополн. - Страница № 188

Петр Дунаев - Детали машин. Курсовое проектирование: Учеб, пособие для машиностроит. спец, учреждений среднего профессионального образования. - 5-е издание, дополн. - Страница № 189

Петр Дунаев - Детали машин. Курсовое проектирование: Учеб, пособие для машиностроит. спец, учреждений среднего профессионального образования. - 5-е издание, дополн. - Страница № 190

Петр Дунаев - Детали машин. Курсовое проектирование: Учеб, пособие для машиностроит. спец, учреждений среднего профессионального образования. - 5-е издание, дополн. - Страница № 191

Петр Дунаев - Детали машин. Курсовое проектирование: Учеб, пособие для машиностроит. спец, учреждений среднего профессионального образования. - 5-е издание, дополн. - Страница № 192

Петр Дунаев - Детали машин. Курсовое проектирование: Учеб, пособие для машиностроит. спец, учреждений среднего профессионального образования. - 5-е издание, дополн. - Страница № 193

Петр Дунаев - Детали машин. Курсовое проектирование: Учеб, пособие для машиностроит. спец, учреждений среднего профессионального образования. - 5-е издание, дополн. - Страница № 194

Петр Дунаев - Детали машин. Курсовое проектирование: Учеб, пособие для машиностроит. спец, учреждений среднего профессионального образования. - 5-е издание, дополн. - Страница № 195

Петр Дунаев - Детали машин. Курсовое проектирование: Учеб, пособие для машиностроит. спец, учреждений среднего профессионального образования. - 5-е издание, дополн. - Страница № 196

Петр Дунаев - Детали машин. Курсовое проектирование: Учеб, пособие для машиностроит. спец, учреждений среднего профессионального образования. - 5-е издание, дополн. - Страница № 197

Петр Дунаев - Детали машин. Курсовое проектирование: Учеб, пособие для машиностроит. спец, учреждений среднего профессионального образования. - 5-е издание, дополн. - Страница № 198

Петр Дунаев - Детали машин. Курсовое проектирование: Учеб, пособие для машиностроит. спец, учреждений среднего профессионального образования. - 5-е издание, дополн. - Страница № 199

Петр Дунаев - Детали машин. Курсовое проектирование: Учеб, пособие для машиностроит. спец, учреждений среднего профессионального образования. - 5-е издание, дополн. - Страница № 200

Петр Дунаев - Детали машин. Курсовое проектирование: Учеб, пособие для машиностроит. спец, учреждений среднего профессионального образования. - 5-е издание, дополн. - Страница № 201

Петр Дунаев - Детали машин. Курсовое проектирование: Учеб, пособие для машиностроит. спец, учреждений среднего профессионального образования. - 5-е издание, дополн. - Страница № 202

Петр Дунаев - Детали машин. Курсовое проектирование: Учеб, пособие для машиностроит. спец, учреждений среднего профессионального образования. - 5-е издание, дополн. - Страница № 203

src="/b.htm/71/613571/204.webp" title="Петр Дунаев - Детали машин. Курсовое проектирование: Учеб, пособие для машиностроит. спец, учреждений среднего профессионального образования. - 5-е издание, дополн. - Страница № 204" alt="Петр Дунаев - Детали машин. Курсовое проектирование: Учеб, пособие для машиностроит. спец, учреждений среднего профессионального образования. - 5-е издание, дополн. - Страница № 204" width="600" height="880">

Петр Дунаев - Детали машин. Курсовое проектирование: Учеб, пособие для машиностроит. спец, учреждений среднего профессионального образования. - 5-е издание, дополн. - Страница № 205

Петр Дунаев - Детали машин. Курсовое проектирование: Учеб, пособие для машиностроит. спец, учреждений среднего профессионального образования. - 5-е издание, дополн. - Страница № 206

Петр Дунаев - Детали машин. Курсовое проектирование: Учеб, пособие для машиностроит. спец, учреждений среднего профессионального образования. - 5-е издание, дополн. - Страница № 207

Петр Дунаев - Детали машин. Курсовое проектирование: Учеб, пособие для машиностроит. спец, учреждений среднего профессионального образования. - 5-е издание, дополн. - Страница № 208

Петр Дунаев - Детали машин. Курсовое проектирование: Учеб, пособие для машиностроит. спец, учреждений среднего профессионального образования. - 5-е издание, дополн. - Страница № 209

Петр Дунаев - Детали машин. Курсовое проектирование: Учеб, пособие для машиностроит. спец, учреждений среднего профессионального образования. - 5-е издание, дополн. - Страница № 210

Петр Дунаев - Детали машин. Курсовое проектирование: Учеб, пособие для машиностроит. спец, учреждений среднего профессионального образования. - 5-е издание, дополн. - Страница № 211

Петр Дунаев - Детали машин. Курсовое проектирование: Учеб, пособие для машиностроит. спец, учреждений среднего профессионального образования. - 5-е издание, дополн. - Страница № 212

Петр Дунаев - Детали машин. Курсовое проектирование: Учеб, пособие для машиностроит. спец, учреждений среднего профессионального образования. - 5-е издание, дополн. - Страница № 213

Петр Дунаев - Детали машин. Курсовое проектирование: Учеб, пособие для машиностроит. спец, учреждений среднего профессионального образования. - 5-е издание, дополн. - Страница № 214

Петр Дунаев - Детали машин. Курсовое проектирование: Учеб, пособие для машиностроит. спец, учреждений среднего профессионального образования. - 5-е издание, дополн. - Страница № 215

Петр Дунаев - Детали машин. Курсовое проектирование: Учеб, пособие для машиностроит. спец, учреждений среднего профессионального образования. - 5-е издание, дополн. - Страница № 216

Петр Дунаев - Детали машин. Курсовое проектирование: Учеб, пособие для машиностроит. спец, учреждений среднего профессионального образования. - 5-е издание, дополн. - Страница № 217

Петр Дунаев - Детали машин. Курсовое проектирование: Учеб, пособие для машиностроит. спец, учреждений среднего профессионального образования. - 5-е издание, дополн. - Страница № 218

Петр Дунаев - Детали машин. Курсовое проектирование: Учеб, пособие для машиностроит. спец, учреждений среднего профессионального образования. - 5-е издание, дополн. - Страница № 219

Петр Дунаев - Детали машин. Курсовое проектирование: Учеб, пособие для машиностроит. спец, учреждений среднего профессионального образования. - 5-е издание, дополн. - Страница № 220

Петр Дунаев - Детали машин. Курсовое проектирование: Учеб, пособие для машиностроит. спец, учреждений среднего профессионального образования. - 5-е издание, дополн. - Страница № 221

Петр Дунаев - Детали машин. Курсовое проектирование: Учеб, пособие для машиностроит. спец, учреждений среднего профессионального образования. - 5-е издание, дополн. - Страница № 222

Петр Дунаев - Детали машин. Курсовое проектирование: Учеб, пособие для машиностроит. спец, учреждений среднего профессионального образования. - 5-е издание, дополн. - Страница № 223

Петр Дунаев - Детали машин. Курсовое проектирование: Учеб, пособие для машиностроит. спец, учреждений среднего профессионального образования. - 5-е издание, дополн. - Страница № 224

Петр Дунаев - Детали машин. Курсовое проектирование: Учеб, пособие для машиностроит. спец, учреждений среднего профессионального образования. - 5-е издание, дополн. - Страница № 225

Петр Дунаев - Детали машин. Курсовое проектирование: Учеб, пособие для машиностроит. спец, учреждений среднего профессионального образования. - 5-е издание, дополн. - Страница № 226

Петр Дунаев - Детали машин. Курсовое проектирование: Учеб, пособие для машиностроит. спец, учреждений среднего профессионального образования. - 5-е издание, дополн. - Страница № 227

Петр Дунаев - Детали машин. Курсовое проектирование: Учеб, пособие для машиностроит. спец, учреждений среднего профессионального образования. - 5-е издание, дополн. - Страница № 228

Петр Дунаев - Детали машин. Курсовое проектирование: Учеб, пособие для машиностроит. спец, учреждений среднего профессионального образования. - 5-е издание, дополн. - Страница № 229

Петр Дунаев - Детали машин. Курсовое проектирование: Учеб, пособие для машиностроит. спец, учреждений среднего профессионального образования. - 5-е издание, дополн. - Страница № 230

Петр Дунаев - Детали машин. Курсовое проектирование: Учеб, пособие для машиностроит. спец, учреждений среднего профессионального образования. - 5-е издание, дополн. - Страница № 231

Петр Дунаев - Детали машин. Курсовое проектирование: Учеб, пособие для машиностроит. спец, учреждений среднего профессионального образования. - 5-е издание, дополн. - Страница № 232

Петр Дунаев - Детали машин. Курсовое проектирование: Учеб, пособие для машиностроит. спец, учреждений среднего профессионального образования. - 5-е издание, дополн. - Страница № 233

Петр Дунаев - Детали машин. Курсовое проектирование: Учеб, пособие для машиностроит. спец, учреждений среднего профессионального образования. - 5-е издание, дополн. - Страница № 234

Петр Дунаев - Детали машин. Курсовое проектирование: Учеб, пособие для машиностроит. спец, учреждений среднего профессионального образования. - 5-е издание, дополн. - Страница № 235

Петр Дунаев - Детали машин. Курсовое проектирование: Учеб, пособие для машиностроит. спец, учреждений среднего профессионального образования. - 5-е издание, дополн. - Страница № 236

Петр Дунаев - Детали машин. Курсовое проектирование: Учеб, пособие для машиностроит. спец, учреждений среднего профессионального образования. - 5-е издание, дополн. - Страница № 237

Петр Дунаев - Детали машин. Курсовое проектирование: Учеб, пособие для машиностроит. спец, учреждений среднего профессионального образования. - 5-е издание, дополн. - Страница № 238

Петр Дунаев - Детали машин. Курсовое проектирование: Учеб, пособие для машиностроит. спец, учреждений среднего профессионального образования. - 5-е издание, дополн. - Страница № 239

Петр Дунаев - Детали машин. Курсовое проектирование: Учеб, пособие для машиностроит. спец, учреждений среднего профессионального образования. - 5-е издание, дополн. - Страница № 240

Петр Дунаев - Детали машин. Курсовое проектирование: Учеб, пособие для машиностроит. спец, учреждений среднего профессионального образования. - 5-е издание, дополн. - Страница № 241

Петр Дунаев - Детали машин. Курсовое проектирование: Учеб, пособие для машиностроит. спец, учреждений среднего профессионального образования. - 5-е издание, дополн. - Страница № 242

Петр Дунаев - Детали машин. Курсовое проектирование: Учеб, пособие для машиностроит. спец, учреждений среднего профессионального образования. - 5-е издание, дополн. - Страница № 243

Петр Дунаев - Детали машин. Курсовое проектирование: Учеб, пособие для машиностроит. спец, учреждений среднего профессионального образования. - 5-е издание, дополн. - Страница № 244

Петр Дунаев - Детали машин. Курсовое проектирование: Учеб, пособие для машиностроит. спец, учреждений среднего профессионального образования. - 5-е издание, дополн. - Страница № 245

Петр Дунаев - Детали машин. Курсовое проектирование: Учеб, пособие для машиностроит. спец, учреждений среднего профессионального образования. - 5-е издание, дополн. - Страница № 246

Петр Дунаев - Детали машин. Курсовое проектирование: Учеб, пособие для машиностроит. спец, учреждений среднего профессионального образования. - 5-е издание, дополн. - Страница № 247

Петр Дунаев - Детали машин. Курсовое проектирование: Учеб, пособие для машиностроит. спец, учреждений среднего профессионального образования. - 5-е издание, дополн. - Страница № 248

Петр Дунаев - Детали машин. Курсовое проектирование: Учеб, пособие для машиностроит. спец, учреждений среднего профессионального образования. - 5-е издание, дополн. - Страница № 249

Петр Дунаев - Детали машин. Курсовое проектирование: Учеб, пособие для машиностроит. спец, учреждений среднего профессионального образования. - 5-е издание, дополн. - Страница № 250

Петр Дунаев - Детали машин. Курсовое проектирование: Учеб, пособие для машиностроит. спец, учреждений среднего профессионального образования. - 5-е издание, дополн. - Страница № 251

Петр Дунаев - Детали машин. Курсовое проектирование: Учеб, пособие для машиностроит. спец, учреждений среднего профессионального образования. - 5-е издание, дополн. - Страница № 252

Петр Дунаев - Детали машин. Курсовое проектирование: Учеб, пособие для машиностроит. спец, учреждений среднего профессионального образования. - 5-е издание, дополн. - Страница № 253

Петр Дунаев - Детали машин. Курсовое проектирование: Учеб, пособие для машиностроит. спец, учреждений среднего профессионального образования. - 5-е издание, дополн. - Страница № 254

Петр Дунаев - Детали машин. Курсовое проектирование: Учеб, пособие для машиностроит. спец, учреждений среднего профессионального образования. - 5-е издание, дополн. - Страница № 255

Петр Дунаев - Детали машин. Курсовое проектирование: Учеб, пособие для машиностроит. спец, учреждений среднего профессионального образования. - 5-е издание, дополн. - Страница № 256

Петр Дунаев - Детали машин. Курсовое проектирование: Учеб, пособие для машиностроит. спец, учреждений среднего профессионального образования. - 5-е издание, дополн. - Страница № 257

Петр Дунаев - Детали машин. Курсовое проектирование: Учеб, пособие для машиностроит. спец, учреждений среднего профессионального образования. - 5-е издание, дополн. - Страница № 258

Петр Дунаев - Детали машин. Курсовое проектирование: Учеб, пособие для машиностроит. спец, учреждений среднего профессионального образования. - 5-е издание, дополн. - Страница № 259

Петр Дунаев - Детали машин. Курсовое проектирование: Учеб, пособие для машиностроит. спец, учреждений среднего профессионального образования. - 5-е издание, дополн. - Страница № 260

Петр Дунаев - Детали машин. Курсовое проектирование: Учеб, пособие для машиностроит. спец, учреждений среднего профессионального образования. - 5-е издание, дополн. - Страница № 261

Петр Дунаев - Детали машин. Курсовое проектирование: Учеб, пособие для машиностроит. спец, учреждений среднего профессионального образования. - 5-е издание, дополн. - Страница № 262

Петр Дунаев - Детали машин. Курсовое проектирование: Учеб, пособие для машиностроит. спец, учреждений среднего профессионального образования. - 5-е издание, дополн. - Страница № 263

Петр Дунаев - Детали машин. Курсовое проектирование: Учеб, пособие для машиностроит. спец, учреждений среднего профессионального образования. - 5-е издание, дополн. - Страница № 264

Петр Дунаев - Детали машин. Курсовое проектирование: Учеб, пособие для машиностроит. спец, учреждений среднего профессионального образования. - 5-е издание, дополн. - Страница № 265

Петр Дунаев - Детали машин. Курсовое проектирование: Учеб, пособие для машиностроит. спец, учреждений среднего профессионального образования. - 5-е издание, дополн. - Страница № 266

Петр Дунаев - Детали машин. Курсовое проектирование: Учеб, пособие для машиностроит. спец, учреждений среднего профессионального образования. - 5-е издание, дополн. - Страница № 267

Петр Дунаев - Детали машин. Курсовое проектирование: Учеб, пособие для машиностроит. спец, учреждений среднего профессионального образования. - 5-е издание, дополн. - Страница № 268

Петр Дунаев - Детали машин. Курсовое проектирование: Учеб, пособие для машиностроит. спец, учреждений среднего профессионального образования. - 5-е издание, дополн. - Страница № 269

Петр Дунаев - Детали машин. Курсовое проектирование: Учеб, пособие для машиностроит. спец, учреждений среднего профессионального образования. - 5-е издание, дополн. - Страница № 270

Петр Дунаев - Детали машин. Курсовое проектирование: Учеб, пособие для машиностроит. спец, учреждений среднего профессионального образования. - 5-е издание, дополн. - Страница № 271

Петр Дунаев - Детали машин. Курсовое проектирование: Учеб, пособие для машиностроит. спец, учреждений среднего профессионального образования. - 5-е издание, дополн. - Страница № 272

Петр Дунаев - Детали машин. Курсовое проектирование: Учеб, пособие для машиностроит. спец, учреждений среднего профессионального образования. - 5-е издание, дополн. - Страница № 273

Петр Дунаев - Детали машин. Курсовое проектирование: Учеб, пособие для машиностроит. спец, учреждений среднего профессионального образования. - 5-е издание, дополн. - Страница № 274

Петр Дунаев - Детали машин. Курсовое проектирование: Учеб, пособие для машиностроит. спец, учреждений среднего профессионального образования. - 5-е издание, дополн. - Страница № 275

Петр Дунаев - Детали машин. Курсовое проектирование: Учеб, пособие для машиностроит. спец, учреждений среднего профессионального образования. - 5-е издание, дополн. - Страница № 276

Петр Дунаев - Детали машин. Курсовое проектирование: Учеб, пособие для машиностроит. спец, учреждений среднего профессионального образования. - 5-е издание, дополн. - Страница № 277

Петр Дунаев - Детали машин. Курсовое проектирование: Учеб, пособие для машиностроит. спец, учреждений среднего профессионального образования. - 5-е издание, дополн. - Страница № 278

Петр Дунаев - Детали машин. Курсовое проектирование: Учеб, пособие для машиностроит. спец, учреждений среднего профессионального образования. - 5-е издание, дополн. - Страница № 279

Петр Дунаев - Детали машин. Курсовое проектирование: Учеб, пособие для машиностроит. спец, учреждений среднего профессионального образования. - 5-е издание, дополн. - Страница № 280

Петр Дунаев - Детали машин. Курсовое проектирование: Учеб, пособие для машиностроит. спец, учреждений среднего профессионального образования. - 5-е издание, дополн. - Страница № 281

Петр Дунаев - Детали машин. Курсовое проектирование: Учеб, пособие для машиностроит. спец, учреждений среднего профессионального образования. - 5-е издание, дополн. - Страница № 282

Петр Дунаев - Детали машин. Курсовое проектирование: Учеб, пособие для машиностроит. спец, учреждений среднего профессионального образования. - 5-е издание, дополн. - Страница № 283

Петр Дунаев - Детали машин. Курсовое проектирование: Учеб, пособие для машиностроит. спец, учреждений среднего профессионального образования. - 5-е издание, дополн. - Страница № 284

Петр Дунаев - Детали машин. Курсовое проектирование: Учеб, пособие для машиностроит. спец, учреждений среднего профессионального образования. - 5-е издание, дополн. - Страница № 285

Петр Дунаев - Детали машин. Курсовое проектирование: Учеб, пособие для машиностроит. спец, учреждений среднего профессионального образования. - 5-е издание, дополн. - Страница № 286

Петр Дунаев - Детали машин. Курсовое проектирование: Учеб, пособие для машиностроит. спец, учреждений среднего профессионального образования. - 5-е издание, дополн. - Страница № 287

Петр Дунаев - Детали машин. Курсовое проектирование: Учеб, пособие для машиностроит. спец, учреждений среднего профессионального образования. - 5-е издание, дополн. - Страница № 288

Петр Дунаев - Детали машин. Курсовое проектирование: Учеб, пособие для машиностроит. спец, учреждений среднего профессионального образования. - 5-е издание, дополн. - Страница № 289

Петр Дунаев - Детали машин. Курсовое проектирование: Учеб, пособие для машиностроит. спец, учреждений среднего профессионального образования. - 5-е издание, дополн. - Страница № 290

Петр Дунаев - Детали машин. Курсовое проектирование: Учеб, пособие для машиностроит. спец, учреждений среднего профессионального образования. - 5-е издание, дополн. - Страница № 291

Петр Дунаев - Детали машин. Курсовое проектирование: Учеб, пособие для машиностроит. спец, учреждений среднего профессионального образования. - 5-е издание, дополн. - Страница № 292

Петр Дунаев - Детали машин. Курсовое проектирование: Учеб, пособие для машиностроит. спец, учреждений среднего профессионального образования. - 5-е издание, дополн. - Страница № 293

Петр Дунаев - Детали машин. Курсовое проектирование: Учеб, пособие для машиностроит. спец, учреждений среднего профессионального образования. - 5-е издание, дополн. - Страница № 294

Петр Дунаев - Детали машин. Курсовое проектирование: Учеб, пособие для машиностроит. спец, учреждений среднего профессионального образования. - 5-е издание, дополн. - Страница № 295

Петр Дунаев - Детали машин. Курсовое проектирование: Учеб, пособие для машиностроит. спец, учреждений среднего профессионального образования. - 5-е издание, дополн. - Страница № 296

Петр Дунаев - Детали машин. Курсовое проектирование: Учеб, пособие для машиностроит. спец, учреждений среднего профессионального образования. - 5-е издание, дополн. - Страница № 297

Петр Дунаев - Детали машин. Курсовое проектирование: Учеб, пособие для машиностроит. спец, учреждений среднего профессионального образования. - 5-е издание, дополн. - Страница № 298

Петр Дунаев - Детали машин. Курсовое проектирование: Учеб, пособие для машиностроит. спец, учреждений среднего профессионального образования. - 5-е издание, дополн. - Страница № 299

Петр Дунаев - Детали машин. Курсовое проектирование: Учеб, пособие для машиностроит. спец, учреждений среднего профессионального образования. - 5-е издание, дополн. - Страница № 300

Петр Дунаев - Детали машин. Курсовое проектирование: Учеб, пособие для машиностроит. спец, учреждений среднего профессионального образования. - 5-е издание, дополн. - Страница № 301

Петр Дунаев - Детали машин. Курсовое проектирование: Учеб, пособие для машиностроит. спец, учреждений среднего профессионального образования. - 5-е издание, дополн. - Страница № 302

Петр Дунаев - Детали машин. Курсовое проектирование: Учеб, пособие для машиностроит. спец, учреждений среднего профессионального образования. - 5-е издание, дополн. - Страница № 303

Петр Дунаев - Детали машин. Курсовое проектирование: Учеб, пособие для машиностроит. спец, учреждений среднего профессионального образования. - 5-е издание, дополн. - Страница № 304

Петр Дунаев - Детали машин. Курсовое проектирование: Учеб, пособие для машиностроит. спец, учреждений среднего профессионального образования. - 5-е издание, дополн. - Страница № 305

Петр Дунаев - Детали машин. Курсовое проектирование: Учеб, пособие для машиностроит. спец, учреждений среднего профессионального образования. - 5-е издание, дополн. - Страница № 306

Петр Дунаев - Детали машин. Курсовое проектирование: Учеб, пособие для машиностроит. спец, учреждений среднего профессионального образования. - 5-е издание, дополн. - Страница № 307

Петр Дунаев - Детали машин. Курсовое проектирование: Учеб, пособие для машиностроит. спец, учреждений среднего профессионального образования. - 5-е издание, дополн. - Страница № 308

Петр Дунаев - Детали машин. Курсовое проектирование: Учеб, пособие для машиностроит. спец, учреждений среднего профессионального образования. - 5-е издание, дополн. - Страница № 309

Петр Дунаев - Детали машин. Курсовое проектирование: Учеб, пособие для машиностроит. спец, учреждений среднего профессионального образования. - 5-е издание, дополн. - Страница № 310

Петр Дунаев - Детали машин. Курсовое проектирование: Учеб, пособие для машиностроит. спец, учреждений среднего профессионального образования. - 5-е издание, дополн. - Страница № 311

Петр Дунаев - Детали машин. Курсовое проектирование: Учеб, пособие для машиностроит. спец, учреждений среднего профессионального образования. - 5-е издание, дополн. - Страница № 312

Петр Дунаев - Детали машин. Курсовое проектирование: Учеб, пособие для машиностроит. спец, учреждений среднего профессионального образования. - 5-е издание, дополн. - Страница № 313

Петр Дунаев - Детали машин. Курсовое проектирование: Учеб, пособие для машиностроит. спец, учреждений среднего профессионального образования. - 5-е издание, дополн. - Страница № 314

Петр Дунаев - Детали машин. Курсовое проектирование: Учеб, пособие для машиностроит. спец, учреждений среднего профессионального образования. - 5-е издание, дополн. - Страница № 315

Петр Дунаев - Детали машин. Курсовое проектирование: Учеб, пособие для машиностроит. спец, учреждений среднего профессионального образования. - 5-е издание, дополн. - Страница № 316

Петр Дунаев - Детали машин. Курсовое проектирование: Учеб, пособие для машиностроит. спец, учреждений среднего профессионального образования. - 5-е издание, дополн. - Страница № 317

Петр Дунаев - Детали машин. Курсовое проектирование: Учеб, пособие для машиностроит. спец, учреждений среднего профессионального образования. - 5-е издание, дополн. - Страница № 318

Петр Дунаев - Детали машин. Курсовое проектирование: Учеб, пособие для машиностроит. спец, учреждений среднего профессионального образования. - 5-е издание, дополн. - Страница № 319

Петр Дунаев - Детали машин. Курсовое проектирование: Учеб, пособие для машиностроит. спец, учреждений среднего профессионального образования. - 5-е издание, дополн. - Страница № 320

Петр Дунаев - Детали машин. Курсовое проектирование: Учеб, пособие для машиностроит. спец, учреждений среднего профессионального образования. - 5-е издание, дополн. - Страница № 321

Петр Дунаев - Детали машин. Курсовое проектирование: Учеб, пособие для машиностроит. спец, учреждений среднего профессионального образования. - 5-е издание, дополн. - Страница № 322

Петр Дунаев - Детали машин. Курсовое проектирование: Учеб, пособие для машиностроит. спец, учреждений среднего профессионального образования. - 5-е издание, дополн. - Страница № 323

Петр Дунаев - Детали машин. Курсовое проектирование: Учеб, пособие для машиностроит. спец, учреждений среднего профессионального образования. - 5-е издание, дополн. - Страница № 324

Петр Дунаев - Детали машин. Курсовое проектирование: Учеб, пособие для машиностроит. спец, учреждений среднего профессионального образования. - 5-е издание, дополн. - Страница № 325

Петр Дунаев - Детали машин. Курсовое проектирование: Учеб, пособие для машиностроит. спец, учреждений среднего профессионального образования. - 5-е издание, дополн. - Страница № 326

Петр Дунаев - Детали машин. Курсовое проектирование: Учеб, пособие для машиностроит. спец, учреждений среднего профессионального образования. - 5-е издание, дополн. - Страница № 327

Петр Дунаев - Детали машин. Курсовое проектирование: Учеб, пособие для машиностроит. спец, учреждений среднего профессионального образования. - 5-е издание, дополн. - Страница № 328

Петр Дунаев - Детали машин. Курсовое проектирование: Учеб, пособие для машиностроит. спец, учреждений среднего профессионального образования. - 5-е издание, дополн. - Страница № 329

Петр Дунаев - Детали машин. Курсовое проектирование: Учеб, пособие для машиностроит. спец, учреждений среднего профессионального образования. - 5-е издание, дополн. - Страница № 330

Петр Дунаев - Детали машин. Курсовое проектирование: Учеб, пособие для машиностроит. спец, учреждений среднего профессионального образования. - 5-е издание, дополн. - Страница № 331

Петр Дунаев - Детали машин. Курсовое проектирование: Учеб, пособие для машиностроит. спец, учреждений среднего профессионального образования. - 5-е издание, дополн. - Страница № 332

Петр Дунаев - Детали машин. Курсовое проектирование: Учеб, пособие для машиностроит. спец, учреждений среднего профессионального образования. - 5-е издание, дополн. - Страница № 333

Петр Дунаев - Детали машин. Курсовое проектирование: Учеб, пособие для машиностроит. спец, учреждений среднего профессионального образования. - 5-е издание, дополн. - Страница № 334

Петр Дунаев - Детали машин. Курсовое проектирование: Учеб, пособие для машиностроит. спец, учреждений среднего профессионального образования. - 5-е издание, дополн. - Страница № 335

Петр Дунаев - Детали машин. Курсовое проектирование: Учеб, пособие для машиностроит. спец, учреждений среднего профессионального образования. - 5-е издание, дополн. - Страница № 336

Петр Дунаев - Детали машин. Курсовое проектирование: Учеб, пособие для машиностроит. спец, учреждений среднего профессионального образования. - 5-е издание, дополн. - Страница № 337

Петр Дунаев - Детали машин. Курсовое проектирование: Учеб, пособие для машиностроит. спец, учреждений среднего профессионального образования. - 5-е издание, дополн. - Страница № 338

Петр Дунаев - Детали машин. Курсовое проектирование: Учеб, пособие для машиностроит. спец, учреждений среднего профессионального образования. - 5-е издание, дополн. - Страница № 339

Петр Дунаев - Детали машин. Курсовое проектирование: Учеб, пособие для машиностроит. спец, учреждений среднего профессионального образования. - 5-е издание, дополн. - Страница № 340

Петр Дунаев - Детали машин. Курсовое проектирование: Учеб, пособие для машиностроит. спец, учреждений среднего профессионального образования. - 5-е издание, дополн. - Страница № 341

Петр Дунаев - Детали машин. Курсовое проектирование: Учеб, пособие для машиностроит. спец, учреждений среднего профессионального образования. - 5-е издание, дополн. - Страница № 342

Петр Дунаев - Детали машин. Курсовое проектирование: Учеб, пособие для машиностроит. спец, учреждений среднего профессионального образования. - 5-е издание, дополн. - Страница № 343

Петр Дунаев - Детали машин. Курсовое проектирование: Учеб, пособие для машиностроит. спец, учреждений среднего профессионального образования. - 5-е издание, дополн. - Страница № 344

Петр Дунаев - Детали машин. Курсовое проектирование: Учеб, пособие для машиностроит. спец, учреждений среднего профессионального образования. - 5-е издание, дополн. - Страница № 345

Петр Дунаев - Детали машин. Курсовое проектирование: Учеб, пособие для машиностроит. спец, учреждений среднего профессионального образования. - 5-е издание, дополн. - Страница № 346

Петр Дунаев - Детали машин. Курсовое проектирование: Учеб, пособие для машиностроит. спец, учреждений среднего профессионального образования. - 5-е издание, дополн. - Страница № 347

Петр Дунаев - Детали машин. Курсовое проектирование: Учеб, пособие для машиностроит. спец, учреждений среднего профессионального образования. - 5-е издание, дополн. - Страница № 348

Петр Дунаев - Детали машин. Курсовое проектирование: Учеб, пособие для машиностроит. спец, учреждений среднего профессионального образования. - 5-е издание, дополн. - Страница № 349

Петр Дунаев - Детали машин. Курсовое проектирование: Учеб, пособие для машиностроит. спец, учреждений среднего профессионального образования. - 5-е издание, дополн. - Страница № 350

Петр Дунаев - Детали машин. Курсовое проектирование: Учеб, пособие для машиностроит. спец, учреждений среднего профессионального образования. - 5-е издание, дополн. - Страница № 351

Петр Дунаев - Детали машин. Курсовое проектирование: Учеб, пособие для машиностроит. спец, учреждений среднего профессионального образования. - 5-е издание, дополн. - Страница № 352

Петр Дунаев - Детали машин. Курсовое проектирование: Учеб, пособие для машиностроит. спец, учреждений среднего профессионального образования. - 5-е издание, дополн. - Страница № 353

Петр Дунаев - Детали машин. Курсовое проектирование: Учеб, пособие для машиностроит. спец, учреждений среднего профессионального образования. - 5-е издание, дополн. - Страница № 354

Петр Дунаев - Детали машин. Курсовое проектирование: Учеб, пособие для машиностроит. спец, учреждений среднего профессионального образования. - 5-е издание, дополн. - Страница № 355

Петр Дунаев - Детали машин. Курсовое проектирование: Учеб, пособие для машиностроит. спец, учреждений среднего профессионального образования. - 5-е издание, дополн. - Страница № 356

Петр Дунаев - Детали машин. Курсовое проектирование: Учеб, пособие для машиностроит. спец, учреждений среднего профессионального образования. - 5-е издание, дополн. - Страница № 357

Петр Дунаев - Детали машин. Курсовое проектирование: Учеб, пособие для машиностроит. спец, учреждений среднего профессионального образования. - 5-е издание, дополн. - Страница № 358

Петр Дунаев - Детали машин. Курсовое проектирование: Учеб, пособие для машиностроит. спец, учреждений среднего профессионального образования. - 5-е издание, дополн. - Страница № 359

Петр Дунаев - Детали машин. Курсовое проектирование: Учеб, пособие для машиностроит. спец, учреждений среднего профессионального образования. - 5-е издание, дополн. - Страница № 360

Петр Дунаев - Детали машин. Курсовое проектирование: Учеб, пособие для машиностроит. спец, учреждений среднего профессионального образования. - 5-е издание, дополн. - Страница № 361

Петр Дунаев - Детали машин. Курсовое проектирование: Учеб, пособие для машиностроит. спец, учреждений среднего профессионального образования. - 5-е издание, дополн. - Страница № 362

Петр Дунаев - Детали машин. Курсовое проектирование: Учеб, пособие для машиностроит. спец, учреждений среднего профессионального образования. - 5-е издание, дополн. - Страница № 363

Петр Дунаев - Детали машин. Курсовое проектирование: Учеб, пособие для машиностроит. спец, учреждений среднего профессионального образования. - 5-е издание, дополн. - Страница № 364

Петр Дунаев - Детали машин. Курсовое проектирование: Учеб, пособие для машиностроит. спец, учреждений среднего профессионального образования. - 5-е издание, дополн. - Страница № 365

Петр Дунаев - Детали машин. Курсовое проектирование: Учеб, пособие для машиностроит. спец, учреждений среднего профессионального образования. - 5-е издание, дополн. - Страница № 366

Петр Дунаев - Детали машин. Курсовое проектирование: Учеб, пособие для машиностроит. спец, учреждений среднего профессионального образования. - 5-е издание, дополн. - Страница № 367

Петр Дунаев - Детали машин. Курсовое проектирование: Учеб, пособие для машиностроит. спец, учреждений среднего профессионального образования. - 5-е издание, дополн. - Страница № 368

Петр Дунаев - Детали машин. Курсовое проектирование: Учеб, пособие для машиностроит. спец, учреждений среднего профессионального образования. - 5-е издание, дополн. - Страница № 369

Петр Дунаев - Детали машин. Курсовое проектирование: Учеб, пособие для машиностроит. спец, учреждений среднего профессионального образования. - 5-е издание, дополн. - Страница № 370

Петр Дунаев - Детали машин. Курсовое проектирование: Учеб, пособие для машиностроит. спец, учреждений среднего профессионального образования. - 5-е издание, дополн. - Страница № 371

Петр Дунаев - Детали машин. Курсовое проектирование: Учеб, пособие для машиностроит. спец, учреждений среднего профессионального образования. - 5-е издание, дополн. - Страница № 372

Петр Дунаев - Детали машин. Курсовое проектирование: Учеб, пособие для машиностроит. спец, учреждений среднего профессионального образования. - 5-е издание, дополн. - Страница № 373

Петр Дунаев - Детали машин. Курсовое проектирование: Учеб, пособие для машиностроит. спец, учреждений среднего профессионального образования. - 5-е издание, дополн. - Страница № 374

Петр Дунаев - Детали машин. Курсовое проектирование: Учеб, пособие для машиностроит. спец, учреждений среднего профессионального образования. - 5-е издание, дополн. - Страница № 375

Петр Дунаев - Детали машин. Курсовое проектирование: Учеб, пособие для машиностроит. спец, учреждений среднего профессионального образования. - 5-е издание, дополн. - Страница № 376

Петр Дунаев - Детали машин. Курсовое проектирование: Учеб, пособие для машиностроит. спец, учреждений среднего профессионального образования. - 5-е издание, дополн. - Страница № 377

Петр Дунаев - Детали машин. Курсовое проектирование: Учеб, пособие для машиностроит. спец, учреждений среднего профессионального образования. - 5-е издание, дополн. - Страница № 378

Петр Дунаев - Детали машин. Курсовое проектирование: Учеб, пособие для машиностроит. спец, учреждений среднего профессионального образования. - 5-е издание, дополн. - Страница № 379

Петр Дунаев - Детали машин. Курсовое проектирование: Учеб, пособие для машиностроит. спец, учреждений среднего профессионального образования. - 5-е издание, дополн. - Страница № 380

Петр Дунаев - Детали машин. Курсовое проектирование: Учеб, пособие для машиностроит. спец, учреждений среднего профессионального образования. - 5-е издание, дополн. - Страница № 381

Петр Дунаев - Детали машин. Курсовое проектирование: Учеб, пособие для машиностроит. спец, учреждений среднего профессионального образования. - 5-е издание, дополн. - Страница № 382

Петр Дунаев - Детали машин. Курсовое проектирование: Учеб, пособие для машиностроит. спец, учреждений среднего профессионального образования. - 5-е издание, дополн. - Страница № 383

Петр Дунаев - Детали машин. Курсовое проектирование: Учеб, пособие для машиностроит. спец, учреждений среднего профессионального образования. - 5-е издание, дополн. - Страница № 384

Петр Дунаев - Детали машин. Курсовое проектирование: Учеб, пособие для машиностроит. спец, учреждений среднего профессионального образования. - 5-е издание, дополн. - Страница № 385

Петр Дунаев - Детали машин. Курсовое проектирование: Учеб, пособие для машиностроит. спец, учреждений среднего профессионального образования. - 5-е издание, дополн. - Страница № 386

Петр Дунаев - Детали машин. Курсовое проектирование: Учеб, пособие для машиностроит. спец, учреждений среднего профессионального образования. - 5-е издание, дополн. - Страница № 387

Петр Дунаев - Детали машин. Курсовое проектирование: Учеб, пособие для машиностроит. спец, учреждений среднего профессионального образования. - 5-е издание, дополн. - Страница № 388

Петр Дунаев - Детали машин. Курсовое проектирование: Учеб, пособие для машиностроит. спец, учреждений среднего профессионального образования. - 5-е издание, дополн. - Страница № 389

Петр Дунаев - Детали машин. Курсовое проектирование: Учеб, пособие для машиностроит. спец, учреждений среднего профессионального образования. - 5-е издание, дополн. - Страница № 390

Петр Дунаев - Детали машин. Курсовое проектирование: Учеб, пособие для машиностроит. спец, учреждений среднего профессионального образования. - 5-е издание, дополн. - Страница № 391

Петр Дунаев - Детали машин. Курсовое проектирование: Учеб, пособие для машиностроит. спец, учреждений среднего профессионального образования. - 5-е издание, дополн. - Страница № 392

Петр Дунаев - Детали машин. Курсовое проектирование: Учеб, пособие для машиностроит. спец, учреждений среднего профессионального образования. - 5-е издание, дополн. - Страница № 393

Петр Дунаев - Детали машин. Курсовое проектирование: Учеб, пособие для машиностроит. спец, учреждений среднего профессионального образования. - 5-е издание, дополн. - Страница № 394

Петр Дунаев - Детали машин. Курсовое проектирование: Учеб, пособие для машиностроит. спец, учреждений среднего профессионального образования. - 5-е издание, дополн. - Страница № 395

Петр Дунаев - Детали машин. Курсовое проектирование: Учеб, пособие для машиностроит. спец, учреждений среднего профессионального образования. - 5-е издание, дополн. - Страница № 396

Петр Дунаев - Детали машин. Курсовое проектирование: Учеб, пособие для машиностроит. спец, учреждений среднего профессионального образования. - 5-е издание, дополн. - Страница № 397

Петр Дунаев - Детали машин. Курсовое проектирование: Учеб, пособие для машиностроит. спец, учреждений среднего профессионального образования. - 5-е издание, дополн. - Страница № 398

Петр Дунаев - Детали машин. Курсовое проектирование: Учеб, пособие для машиностроит. спец, учреждений среднего профессионального образования. - 5-е издание, дополн. - Страница № 399

Петр Дунаев - Детали машин. Курсовое проектирование: Учеб, пособие для машиностроит. спец, учреждений среднего профессионального образования. - 5-е издание, дополн. - Страница № 400

Петр Дунаев - Детали машин. Курсовое проектирование: Учеб, пособие для машиностроит. спец, учреждений среднего профессионального образования. - 5-е издание, дополн. - Страница № 401

Петр Дунаев - Детали машин. Курсовое проектирование: Учеб, пособие для машиностроит. спец, учреждений среднего профессионального образования. - 5-е издание, дополн. - Страница № 402

Петр Дунаев - Детали машин. Курсовое проектирование: Учеб, пособие для машиностроит. спец, учреждений среднего профессионального образования. - 5-е издание, дополн. - Страница № 403

Петр Дунаев - Детали машин. Курсовое проектирование: Учеб, пособие для машиностроит. спец, учреждений среднего профессионального образования. - 5-е издание, дополн. - Страница № 404

Петр Дунаев - Детали машин. Курсовое проектирование: Учеб, пособие для машиностроит. спец, учреждений среднего профессионального образования. - 5-е издание, дополн. - Страница № 405

Петр Дунаев - Детали машин. Курсовое проектирование: Учеб, пособие для машиностроит. спец, учреждений среднего профессионального образования. - 5-е издание, дополн. -<!--p--><!--p--><!--p--><!--p--><!--p--><!--p--><!--p--><!--p--><!--p--><!--p--><!--p--><!--p--><!--p--><!--p--><!--p--><!--p--><!--p--><!--p--><!--p--><!--p--><!--p--><!--p--><!--p--><!--p--><!--p--><!--p--><!--p--><!--p--><!--p--><!--p--><!--p--><!--p--><!--p--><!--p--><!--p--><!--p--><!--p--><!--p--><!--p--><!--p--><!--p--><!--p--><!--p--><!--p--><!--p--><!--p--><!--p--><!--p--><!--p--><!--p--><!--p--><!--p--><!--p--><!--p--><!--p--><!--p--><!--p--><!--p--><!--p--><!--p--><!--p--><!--p--><!--p--><!--p--><!--p--><!--p--><!--p--><!--p--><!--p--><!--p--><!--p--><!--p--><!--p--><!--p--><!--p--><!--p--><!--p--><!--p--><!--p--><!--p--><!--p--><!--p--><!--p--><!--p--><!--p--><!--p--><!--p--><!--p--><!--p--><!--p--><!--p--><!--p--><!--p--><!--p--><!--p--><!--p--><!--p--><!--p--><!--p--><!--p--><!--p-->Страница № 406

Петр Дунаев - Детали машин. Курсовое проектирование: Учеб, пособие для машиностроит. спец, учреждений среднего профессионального образования. - 5-е издание, дополн. - Страница № 407

Петр Дунаев - Детали машин. Курсовое проектирование: Учеб, пособие для машиностроит. спец, учреждений среднего профессионального образования. - 5-е издание, дополн. - Страница № 408

Петр Дунаев - Детали машин. Курсовое проектирование: Учеб, пособие для машиностроит. спец, учреждений среднего профессионального образования. - 5-е издание, дополн. - Страница № 409

Петр Дунаев - Детали машин. Курсовое проектирование: Учеб, пособие для машиностроит. спец, учреждений среднего профессионального образования. - 5-е издание, дополн. - Страница № 410

Петр Дунаев - Детали машин. Курсовое проектирование: Учеб, пособие для машиностроит. спец, учреждений среднего профессионального образования. - 5-е издание, дополн. - Страница № 411

Петр Дунаев - Детали машин. Курсовое проектирование: Учеб, пособие для машиностроит. спец, учреждений среднего профессионального образования. - 5-е издание, дополн. - Страница № 412

Петр Дунаев - Детали машин. Курсовое проектирование: Учеб, пособие для машиностроит. спец, учреждений среднего профессионального образования. - 5-е издание, дополн. - Страница № 413

Петр Дунаев - Детали машин. Курсовое проектирование: Учеб, пособие для машиностроит. спец, учреждений среднего профессионального образования. - 5-е издание, дополн. - Страница № 414

Петр Дунаев - Детали машин. Курсовое проектирование: Учеб, пособие для машиностроит. спец, учреждений среднего профессионального образования. - 5-е издание, дополн. - Страница № 415

Петр Дунаев - Детали машин. Курсовое проектирование: Учеб, пособие для машиностроит. спец, учреждений среднего профессионального образования. - 5-е издание, дополн. - Страница № 416

Петр Дунаев - Детали машин. Курсовое проектирование: Учеб, пособие для машиностроит. спец, учреждений среднего профессионального образования. - 5-е издание, дополн. - Страница № 417

Петр Дунаев - Детали машин. Курсовое проектирование: Учеб, пособие для машиностроит. спец, учреждений среднего профессионального образования. - 5-е издание, дополн. - Страница № 418

Петр Дунаев - Детали машин. Курсовое проектирование: Учеб, пособие для машиностроит. спец, учреждений среднего профессионального образования. - 5-е издание, дополн. - Страница № 419

Петр Дунаев - Детали машин. Курсовое проектирование: Учеб, пособие для машиностроит. спец, учреждений среднего профессионального образования. - 5-е издание, дополн. - Страница № 420

Петр Дунаев - Детали машин. Курсовое проектирование: Учеб, пособие для машиностроит. спец, учреждений среднего профессионального образования. - 5-е издание, дополн. - Страница № 421

Петр Дунаев - Детали машин. Курсовое проектирование: Учеб, пособие для машиностроит. спец, учреждений среднего профессионального образования. - 5-е издание, дополн. - Страница № 422

Петр Дунаев - Детали машин. Курсовое проектирование: Учеб, пособие для машиностроит. спец, учреждений среднего профессионального образования. - 5-е издание, дополн. - Страница № 423

Петр Дунаев - Детали машин. Курсовое проектирование: Учеб, пособие для машиностроит. спец, учреждений среднего профессионального образования. - 5-е издание, дополн. - Страница № 424

Петр Дунаев - Детали машин. Курсовое проектирование: Учеб, пособие для машиностроит. спец, учреждений среднего профессионального образования. - 5-е издание, дополн. - Страница № 425

Петр Дунаев - Детали машин. Курсовое проектирование: Учеб, пособие для машиностроит. спец, учреждений среднего профессионального образования. - 5-е издание, дополн. - Страница № 426

Петр Дунаев - Детали машин. Курсовое проектирование: Учеб, пособие для машиностроит. спец, учреждений среднего профессионального образования. - 5-е издание, дополн. - Страница № 427

Петр Дунаев - Детали машин. Курсовое проектирование: Учеб, пособие для машиностроит. спец, учреждений среднего профессионального образования. - 5-е издание, дополн. - Страница № 428

Петр Дунаев - Детали машин. Курсовое проектирование: Учеб, пособие для машиностроит. спец, учреждений среднего профессионального образования. - 5-е издание, дополн. - Страница № 429

Петр Дунаев - Детали машин. Курсовое проектирование: Учеб, пособие для машиностроит. спец, учреждений среднего профессионального образования. - 5-е издание, дополн. - Страница № 430

Петр Дунаев - Детали машин. Курсовое проектирование: Учеб, пособие для машиностроит. спец, учреждений среднего профессионального образования. - 5-е издание, дополн. - Страница № 431

Петр Дунаев - Детали машин. Курсовое проектирование: Учеб, пособие для машиностроит. спец, учреждений среднего профессионального образования. - 5-е издание, дополн. - Страница № 432

Петр Дунаев - Детали машин. Курсовое проектирование: Учеб, пособие для машиностроит. спец, учреждений среднего профессионального образования. - 5-е издание, дополн. - Страница № 433

Петр Дунаев - Детали машин. Курсовое проектирование: Учеб, пособие для машиностроит. спец, учреждений среднего профессионального образования. - 5-е издание, дополн. - Страница № 434

Петр Дунаев - Детали машин. Курсовое проектирование: Учеб, пособие для машиностроит. спец, учреждений среднего профессионального образования. - 5-е издание, дополн. - Страница № 435

Петр Дунаев - Детали машин. Курсовое проектирование: Учеб, пособие для машиностроит. спец, учреждений среднего профессионального образования. - 5-е издание, дополн. - Страница № 436

Петр Дунаев - Детали машин. Курсовое проектирование: Учеб, пособие для машиностроит. спец, учреждений среднего профессионального образования. - 5-е издание, дополн. - Страница № 437

Петр Дунаев - Детали машин. Курсовое проектирование: Учеб, пособие для машиностроит. спец, учреждений среднего профессионального образования. - 5-е издание, дополн. - Страница № 438

Петр Дунаев - Детали машин. Курсовое проектирование: Учеб, пособие для машиностроит. спец, учреждений среднего профессионального образования. - 5-е издание, дополн. - Страница № 439

Петр Дунаев - Детали машин. Курсовое проектирование: Учеб, пособие для машиностроит. спец, учреждений среднего профессионального образования. - 5-е издание, дополн. - Страница № 440

Петр Дунаев - Детали машин. Курсовое проектирование: Учеб, пособие для машиностроит. спец, учреждений среднего профессионального образования. - 5-е издание, дополн. - Страница № 441

Петр Дунаев - Детали машин. Курсовое проектирование: Учеб, пособие для машиностроит. спец, учреждений среднего профессионального образования. - 5-е издание, дополн. - Страница № 442

Петр Дунаев - Детали машин. Курсовое проектирование: Учеб, пособие для машиностроит. спец, учреждений среднего профессионального образования. - 5-е издание, дополн. - Страница № 443

Петр Дунаев - Детали машин. Курсовое проектирование: Учеб, пособие для машиностроит. спец, учреждений среднего профессионального образования. - 5-е издание, дополн. - Страница № 444

Петр Дунаев - Детали машин. Курсовое проектирование: Учеб, пособие для машиностроит. спец, учреждений среднего профессионального образования. - 5-е издание, дополн. - Страница № 445

Петр Дунаев - Детали машин. Курсовое проектирование: Учеб, пособие для машиностроит. спец, учреждений среднего профессионального образования. - 5-е издание, дополн. - Страница № 446

Петр Дунаев - Детали машин. Курсовое проектирование: Учеб, пособие для машиностроит. спец, учреждений среднего профессионального образования. - 5-е издание, дополн. - Страница № 447

Петр Дунаев - Детали машин. Курсовое проектирование: Учеб, пособие для машиностроит. спец, учреждений среднего профессионального образования. - 5-е издание, дополн. - Страница № 448

Петр Дунаев - Детали машин. Курсовое проектирование: Учеб, пособие для машиностроит. спец, учреждений среднего профессионального образования. - 5-е издание, дополн. - Страница № 449

Петр Дунаев - Детали машин. Курсовое проектирование: Учеб, пособие для машиностроит. спец, учреждений среднего профессионального образования. - 5-е издание, дополн. - Страница № 450

Петр Дунаев - Детали машин. Курсовое проектирование: Учеб, пособие для машиностроит. спец, учреждений среднего профессионального образования. - 5-е издание, дополн. - Страница № 451

Петр Дунаев - Детали машин. Курсовое проектирование: Учеб, пособие для машиностроит. спец, учреждений среднего профессионального образования. - 5-е издание, дополн. - Страница № 452

Петр Дунаев - Детали машин. Курсовое проектирование: Учеб, пособие для машиностроит. спец, учреждений среднего профессионального образования. - 5-е издание, дополн. - Страница № 453

Петр Дунаев - Детали машин. Курсовое проектирование: Учеб, пособие для машиностроит. спец, учреждений среднего профессионального образования. - 5-е издание, дополн. - Страница № 454

Петр Дунаев - Детали машин. Курсовое проектирование: Учеб, пособие для машиностроит. спец, учреждений среднего профессионального образования. - 5-е издание, дополн. - Страница № 455

Петр Дунаев - Детали машин. Курсовое проектирование: Учеб, пособие для машиностроит. спец, учреждений среднего профессионального образования. - 5-е издание, дополн. - Страница № 456

Петр Дунаев - Детали машин. Курсовое проектирование: Учеб, пособие для машиностроит. спец, учреждений среднего профессионального образования. - 5-е издание, дополн. - Страница № 457

Петр Дунаев - Детали машин. Курсовое проектирование: Учеб, пособие для машиностроит. спец, учреждений среднего профессионального образования. - 5-е издание, дополн. - Страница № 458

Петр Дунаев - Детали машин. Курсовое проектирование: Учеб, пособие для машиностроит. спец, учреждений среднего профессионального образования. - 5-е издание, дополн. - Страница № 459

Петр Дунаев - Детали машин. Курсовое проектирование: Учеб, пособие для машиностроит. спец, учреждений среднего профессионального образования. - 5-е издание, дополн. - Страница № 460

Петр Дунаев - Детали машин. Курсовое проектирование: Учеб, пособие для машиностроит. спец, учреждений среднего профессионального образования. - 5-е издание, дополн. - Страница № 461

Петр Дунаев - Детали машин. Курсовое проектирование: Учеб, пособие для машиностроит. спец, учреждений среднего профессионального образования. - 5-е издание, дополн. - Страница № 462

Петр Дунаев - Детали машин. Курсовое проектирование: Учеб, пособие для машиностроит. спец, учреждений среднего профессионального образования. - 5-е издание, дополн. - Страница № 463

Петр Дунаев - Детали машин. Курсовое проектирование: Учеб, пособие для машиностроит. спец, учреждений среднего профессионального образования. - 5-е издание, дополн. - Страница № 464

Петр Дунаев - Детали машин. Курсовое проектирование: Учеб, пособие для машиностроит. спец, учреждений среднего профессионального образования. - 5-е издание, дополн. - Страница № 465

Петр Дунаев - Детали машин. Курсовое проектирование: Учеб, пособие для машиностроит. спец, учреждений среднего профессионального образования. - 5-е издание, дополн. - Страница № 466

Петр Дунаев - Детали машин. Курсовое проектирование: Учеб, пособие для машиностроит. спец, учреждений среднего профессионального образования. - 5-е издание, дополн. - Страница № 467

Петр Дунаев - Детали машин. Курсовое проектирование: Учеб, пособие для машиностроит. спец, учреждений среднего профессионального образования. - 5-е издание, дополн. - Страница № 468

Петр Дунаев - Детали машин. Курсовое проектирование: Учеб, пособие для машиностроит. спец, учреждений среднего профессионального образования. - 5-е издание, дополн. - Страница № 469

Петр Дунаев - Детали машин. Курсовое проектирование: Учеб, пособие для машиностроит. спец, учреждений среднего профессионального образования. - 5-е издание, дополн. - Страница № 470

Петр Дунаев - Детали машин. Курсовое проектирование: Учеб, пособие для машиностроит. спец, учреждений среднего профессионального образования. - 5-е издание, дополн. - Страница № 471

Петр Дунаев - Детали машин. Курсовое проектирование: Учеб, пособие для машиностроит. спец, учреждений среднего профессионального образования. - 5-е издание, дополн. - Страница № 472

Петр Дунаев - Детали машин. Курсовое проектирование: Учеб, пособие для машиностроит. спец, учреждений среднего профессионального образования. - 5-е издание, дополн. - Страница № 473

Петр Дунаев - Детали машин. Курсовое проектирование: Учеб, пособие для машиностроит. спец, учреждений среднего профессионального образования. - 5-е издание, дополн. - Страница № 474

Петр Дунаев - Детали машин. Курсовое проектирование: Учеб, пособие для машиностроит. спец, учреждений среднего профессионального образования. - 5-е издание, дополн. - Страница № 475

Петр Дунаев - Детали машин. Курсовое проектирование: Учеб, пособие для машиностроит. спец, учреждений среднего профессионального образования. - 5-е издание, дополн. - Страница № 476

Петр Дунаев - Детали машин. Курсовое проектирование: Учеб, пособие для машиностроит. спец, учреждений среднего профессионального образования. - 5-е издание, дополн. - Страница № 477

Петр Дунаев - Детали машин. Курсовое проектирование: Учеб, пособие для машиностроит. спец, учреждений среднего профессионального образования. - 5-е издание, дополн. - Страница № 478

Петр Дунаев - Детали машин. Курсовое проектирование: Учеб, пособие для машиностроит. спец, учреждений среднего профессионального образования. - 5-е издание, дополн. - Страница № 479

Петр Дунаев - Детали машин. Курсовое проектирование: Учеб, пособие для машиностроит. спец, учреждений среднего профессионального образования. - 5-е издание, дополн. - Страница № 480

Петр Дунаев - Детали машин. Курсовое проектирование: Учеб, пособие для машиностроит. спец, учреждений среднего профессионального образования. - 5-е издание, дополн. - Страница № 481

Петр Дунаев - Детали машин. Курсовое проектирование: Учеб, пособие для машиностроит. спец, учреждений среднего профессионального образования. - 5-е издание, дополн. - Страница № 482

Петр Дунаев - Детали машин. Курсовое проектирование: Учеб, пособие для машиностроит. спец, учреждений среднего профессионального образования. - 5-е издание, дополн. - Страница № 483

Петр Дунаев - Детали машин. Курсовое проектирование: Учеб, пособие для машиностроит. спец, учреждений среднего профессионального образования. - 5-е издание, дополн. - Страница № 484

Петр Дунаев - Детали машин. Курсовое проектирование: Учеб, пособие для машиностроит. спец, учреждений среднего профессионального образования. - 5-е издание, дополн. - Страница № 485

Петр Дунаев - Детали машин. Курсовое проектирование: Учеб, пособие для машиностроит. спец, учреждений среднего профессионального образования. - 5-е издание, дополн. - Страница № 486

Петр Дунаев - Детали машин. Курсовое проектирование: Учеб, пособие для машиностроит. спец, учреждений среднего профессионального образования. - 5-е издание, дополн. - Страница № 487

Петр Дунаев - Детали машин. Курсовое проектирование: Учеб, пособие для машиностроит. спец, учреждений среднего профессионального образования. - 5-е издание, дополн. - Страница № 488

Петр Дунаев - Детали машин. Курсовое проектирование: Учеб, пособие для машиностроит. спец, учреждений среднего профессионального образования. - 5-е издание, дополн. - Страница № 489

Петр Дунаев - Детали машин. Курсовое проектирование: Учеб, пособие для машиностроит. спец, учреждений среднего профессионального образования. - 5-е издание, дополн. - Страница № 490

Петр Дунаев - Детали машин. Курсовое проектирование: Учеб, пособие для машиностроит. спец, учреждений среднего профессионального образования. - 5-е издание, дополн. - Страница № 491

Петр Дунаев - Детали машин. Курсовое проектирование: Учеб, пособие для машиностроит. спец, учреждений среднего профессионального образования. - 5-е издание, дополн. - Страница № 492

Петр Дунаев - Детали машин. Курсовое проектирование: Учеб, пособие для машиностроит. спец, учреждений среднего профессионального образования. - 5-е издание, дополн. - Страница № 493

Петр Дунаев - Детали машин. Курсовое проектирование: Учеб, пособие для машиностроит. спец, учреждений среднего профессионального образования. - 5-е издание, дополн. - Страница № 494

Петр Дунаев - Детали машин. Курсовое проектирование: Учеб, пособие для машиностроит. спец, учреждений среднего профессионального образования. - 5-е издание, дополн. - Страница № 495

Петр Дунаев - Детали машин. Курсовое проектирование: Учеб, пособие для машиностроит. спец, учреждений среднего профессионального образования. - 5-е издание, дополн. - Страница № 496

Петр Дунаев - Детали машин. Курсовое проектирование: Учеб, пособие для машиностроит. спец, учреждений среднего профессионального образования. - 5-е издание, дополн. - Страница № 497

Петр Дунаев - Детали машин. Курсовое проектирование: Учеб, пособие для машиностроит. спец, учреждений среднего профессионального образования. - 5-е издание, дополн. - Страница № 498

Петр Дунаев - Детали машин. Курсовое проектирование: Учеб, пособие для машиностроит. спец, учреждений среднего профессионального образования. - 5-е издание, дополн. - Страница № 499

Петр Дунаев - Детали машин. Курсовое проектирование: Учеб, пособие для машиностроит. спец, учреждений среднего профессионального образования. - 5-е издание, дополн. - Страница № 500

Петр Дунаев - Детали машин. Курсовое проектирование: Учеб, пособие для машиностроит. спец, учреждений среднего профессионального образования. - 5-е издание, дополн. - Страница № 501

Петр Дунаев - Детали машин. Курсовое проектирование: Учеб, пособие для машиностроит. спец, учреждений среднего профессионального образования. - 5-е издание, дополн. - Страница № 502

Петр Дунаев - Детали машин. Курсовое проектирование: Учеб, пособие для машиностроит. спец, учреждений среднего профессионального образования. - 5-е издание, дополн. - Страница № 503

Петр Дунаев - Детали машин. Курсовое проектирование: Учеб, пособие для машиностроит. спец, учреждений среднего профессионального образования. - 5-е издание, дополн. - Страница № 504

Петр Дунаев - Детали машин. Курсовое проектирование: Учеб, пособие для машиностроит. спец, учреждений среднего профессионального образования. - 5-е издание, дополн. - Страница № 505

Петр Дунаев - Детали машин. Курсовое проектирование: Учеб, пособие для машиностроит. спец, учреждений среднего профессионального образования. - 5-е издание, дополн. - Страница № 506

Петр Дунаев - Детали машин. Курсовое проектирование: Учеб, пособие для машиностроит. спец, учреждений среднего профессионального образования. - 5-е издание, дополн. - Страница № 507

Петр Дунаев - Детали машин. Курсовое проектирование: Учеб, пособие для машиностроит. спец, учреждений среднего профессионального образования. - 5-е издание, дополн. - Страница № 508

Петр Дунаев - Детали машин. Курсовое проектирование: Учеб, пособие для машиностроит. спец, учреждений среднего профессионального образования. - 5-е издание, дополн. - Страница № 509

Петр Дунаев - Детали машин. Курсовое проектирование: Учеб, пособие для машиностроит. спец, учреждений среднего профессионального образования. - 5-е издание, дополн. - Страница № 510

Петр Дунаев - Детали машин. Курсовое проектирование: Учеб, пособие для машиностроит. спец, учреждений среднего профессионального образования. - 5-е издание, дополн. - Страница № 511

Петр Дунаев - Детали машин. Курсовое проектирование: Учеб, пособие для машиностроит. спец, учреждений среднего профессионального образования. - 5-е издание, дополн. - Страница № 512

Петр Дунаев - Детали машин. Курсовое проектирование: Учеб, пособие для машиностроит. спец, учреждений среднего профессионального образования. - 5-е издание, дополн. - Страница № 513

Петр Дунаев - Детали машин. Курсовое проектирование: Учеб, пособие для машиностроит. спец, учреждений среднего профессионального образования. - 5-е издание, дополн. - Страница № 514

Петр Дунаев - Детали машин. Курсовое проектирование: Учеб, пособие для машиностроит. спец, учреждений среднего профессионального образования. - 5-е издание, дополн. - Страница № 515

Петр Дунаев - Детали машин. Курсовое проектирование: Учеб, пособие для машиностроит. спец, учреждений среднего профессионального образования. - 5-е издание, дополн. - Страница № 516

Петр Дунаев - Детали машин. Курсовое проектирование: Учеб, пособие для машиностроит. спец, учреждений среднего профессионального образования. - 5-е издание, дополн. - Страница № 517

Петр Дунаев - Детали машин. Курсовое проектирование: Учеб, пособие для машиностроит. спец, учреждений среднего профессионального образования. - 5-е издание, дополн. - Страница № 518

Петр Дунаев - Детали машин. Курсовое проектирование: Учеб, пособие для машиностроит. спец, учреждений среднего профессионального образования. - 5-е издание, дополн. - Страница № 519

Петр Дунаев - Детали машин. Курсовое проектирование: Учеб, пособие для машиностроит. спец, учреждений среднего профессионального образования. - 5-е издание, дополн. - Страница № 520

Петр Дунаев - Детали машин. Курсовое проектирование: Учеб, пособие для машиностроит. спец, учреждений среднего профессионального образования. - 5-е издание, дополн. - Страница № 521

Петр Дунаев - Детали машин. Курсовое проектирование: Учеб, пособие для машиностроит. спец, учреждений среднего профессионального образования. - 5-е издание, дополн. - Страница № 522

Петр Дунаев - Детали машин. Курсовое проектирование: Учеб, пособие для машиностроит. спец, учреждений среднего профессионального образования. - 5-е издание, дополн. - Страница № 523

Петр Дунаев - Детали машин. Курсовое проектирование: Учеб, пособие для машиностроит. спец, учреждений среднего профессионального образования. - 5-е издание, дополн. - Страница № 524

Петр Дунаев - Детали машин. Курсовое проектирование: Учеб, пособие для машиностроит. спец, учреждений среднего профессионального образования. - 5-е издание, дополн. - Страница № 525

Петр Дунаев - Детали машин. Курсовое проектирование: Учеб, пособие для машиностроит. спец, учреждений среднего профессионального образования. - 5-е издание, дополн. - Страница № 526

Петр Дунаев - Детали машин. Курсовое проектирование: Учеб, пособие для машиностроит. спец, учреждений среднего профессионального образования. - 5-е издание, дополн. - Страница № 527

Петр Дунаев - Детали машин. Курсовое проектирование: Учеб, пособие для машиностроит. спец, учреждений среднего профессионального образования. - 5-е издание, дополн. - Страница № 528

Петр Дунаев - Детали машин. Курсовое проектирование: Учеб, пособие для машиностроит. спец, учреждений среднего профессионального образования. - 5-е издание, дополн. - Страница № 529

Петр Дунаев - Детали машин. Курсовое проектирование: Учеб, пособие для машиностроит. спец, учреждений среднего профессионального образования. - 5-е издание, дополн. - Страница № 530

Петр Дунаев - Детали машин. Курсовое проектирование: Учеб, пособие для машиностроит. спец, учреждений среднего профессионального образования. - 5-е издание, дополн. - Страница № 531

Петр Дунаев - Детали машин. Курсовое проектирование: Учеб, пособие для машиностроит. спец, учреждений среднего профессионального образования. - 5-е издание, дополн. - Страница № 532

Петр Дунаев - Детали машин. Курсовое проектирование: Учеб, пособие для машиностроит. спец, учреждений среднего профессионального образования. - 5-е издание, дополн. - Страница № 533

Петр Дунаев - Детали машин. Курсовое проектирование: Учеб, пособие для машиностроит. спец, учреждений среднего профессионального образования. - 5-е издание, дополн. - Страница № 534

Петр Дунаев - Детали машин. Курсовое проектирование: Учеб, пособие для машиностроит. спец, учреждений среднего профессионального образования. - 5-е издание, дополн. - Страница № 535

Петр Дунаев - Детали машин. Курсовое проектирование: Учеб, пособие для машиностроит. спец, учреждений среднего профессионального образования. - 5-е издание, дополн. - Страница № 536

Петр Дунаев - Детали машин. Курсовое проектирование: Учеб, пособие для машиностроит. спец, учреждений среднего профессионального образования. - 5-е издание, дополн. - Страница № 537

Петр Дунаев - Детали машин. Курсовое проектирование: Учеб, пособие для машиностроит. спец, учреждений среднего профессионального образования. - 5-е издание, дополн. - Страница № 538

Петр Дунаев - Детали машин. Курсовое проектирование: Учеб, пособие для машиностроит. спец, учреждений среднего профессионального образования. - 5-е издание, дополн. - Страница № 539

Петр Дунаев - Детали машин. Курсовое проектирование: Учеб, пособие для машиностроит. спец, учреждений среднего профессионального образования. - 5-е издание, дополн. - Страница № 540

Петр Дунаев - Детали машин. Курсовое проектирование: Учеб, пособие для машиностроит. спец, учреждений среднего профессионального образования. - 5-е издание, дополн. - Страница № 541

Петр Дунаев - Детали машин. Курсовое проектирование: Учеб, пособие для машиностроит. спец, учреждений среднего профессионального образования. - 5-е издание, дополн. - Страница № 542

Петр Дунаев - Детали машин. Курсовое проектирование: Учеб, пособие для машиностроит. спец, учреждений среднего профессионального образования. - 5-е издание, дополн. - Страница № 543

Петр Дунаев - Детали машин. Курсовое проектирование: Учеб, пособие для машиностроит. спец, учреждений среднего профессионального образования. - 5-е издание, дополн. - Страница № 544

Петр Дунаев - Детали машин. Курсовое проектирование: Учеб, пособие для машиностроит. спец, учреждений среднего профессионального образования. - 5-е издание, дополн. - Страница № 545

Петр Дунаев - Детали машин. Курсовое проектирование: Учеб, пособие для машиностроит. спец, учреждений среднего профессионального образования. - 5-е издание, дополн. - Страница № 546

Петр Дунаев - Детали машин. Курсовое проектирование: Учеб, пособие для машиностроит. спец, учреждений среднего профессионального образования. - 5-е издание, дополн. - Страница № 547

Петр Дунаев - Детали машин. Курсовое проектирование: Учеб, пособие для машиностроит. спец, учреждений среднего профессионального образования. - 5-е издание, дополн. - Страница № 548

Петр Дунаев - Детали машин. Курсовое проектирование: Учеб, пособие для машиностроит. спец, учреждений среднего профессионального образования. - 5-е издание, дополн. - Страница № 549

Петр Дунаев - Детали машин. Курсовое проектирование: Учеб, пособие для машиностроит. спец, учреждений среднего профессионального образования. - 5-е издание, дополн. - Страница № 550

Петр Дунаев - Детали машин. Курсовое проектирование: Учеб, пособие для машиностроит. спец, учреждений среднего профессионального образования. - 5-е издание, дополн. - Страница № 551

Петр Дунаев - Детали машин. Курсовое проектирование: Учеб, пособие для машиностроит. спец, учреждений среднего профессионального образования. - 5-е издание, дополн. - Страница № 552

Петр Дунаев - Детали машин. Курсовое проектирование: Учеб, пособие для машиностроит. спец, учреждений среднего профессионального образования. - 5-е издание, дополн. - Страница № 553

Петр Дунаев - Детали машин. Курсовое проектирование: Учеб, пособие для машиностроит. спец, учреждений среднего профессионального образования. - 5-е издание, дополн. - Страница № 554

Петр Дунаев - Детали машин. Курсовое проектирование: Учеб, пособие для машиностроит. спец, учреждений среднего профессионального образования. - 5-е издание, дополн. - Страница № 555

Петр Дунаев - Детали машин. Курсовое проектирование: Учеб, пособие для машиностроит. спец, учреждений среднего профессионального образования. - 5-е издание, дополн. - Страница № 556

Петр Дунаев - Детали машин. Курсовое проектирование: Учеб, пособие для машиностроит. спец, учреждений среднего профессионального образования. - 5-е издание, дополн. - Страница № 557

Петр Дунаев - Детали машин. Курсовое проектирование: Учеб, пособие для машиностроит. спец, учреждений среднего профессионального образования. - 5-е издание, дополн. - Страница № 558

Петр Дунаев - Детали машин. Курсовое проектирование: Учеб, пособие для машиностроит. спец, учреждений среднего профессионального образования. - 5-е издание, дополн. - Страница № 559

Петр Дунаев - Детали машин. Курсовое проектирование: Учеб, пособие для машиностроит. спец, учреждений среднего профессионального образования. - 5-е издание, дополн. - Страница № 560

Петр Дунаев - Детали машин. Курсовое проектирование: Учеб, пособие для машиностроит. спец, учреждений среднего профессионального образования. - 5-е издание, дополн. - Страница № 561