КулЛиб - Классная библиотека! Скачать книги бесплатно
Всего книг - 803305 томов
Объем библиотеки - 2093 Гб.
Всего авторов - 303814
Пользователей - 130330

Последние комментарии

Впечатления

yan.litt про Воронков: Везунчик (Фэнтези: прочее)

Прочитал серию. Поставил 4 с минусом. ГГ переносится в новый мир, на поле усеянное костями, он собирает лут и идет в случайном направлении. Впереди только неизвестность, жажда, голод и магические ловушки, но ГГ все вытерпит и выживет. На самом деле ГГ на старте получил стандартный набор попаданца - магическое зрение и знание местного языка, что и позволяет ему справляться с трудностями
Плюсы
1. Сюжет довольно интересный, автор умеет

  подробнее ...

Рейтинг: +1 ( 1 за, 0 против)
pva2408 про Шабловский: Никто кроме нас 2 (Недописанное)

«Перерыв был большой но вроде дело двинулось пока половина новой главы. К НГ хотел закончить 2 книгу но не факт. Буду постараться.»
Шабловский Олег

Рейтинг: +1 ( 1 за, 0 против)
Serg55 про Шабловский: Никто кроме нас 2 (Недописанное)

как то не понятно? 7 глав? а где продолжение? или усё...

Рейтинг: +1 ( 1 за, 0 против)
Serg55 про Романов: На пути к победе (Альтернативная история)

как-то рано тов. Сталин умер...

Рейтинг: +1 ( 1 за, 0 против)
Stix_razrushitel про Порошин: Тафгай. Том 10 (Альтернативная история)

серия очень нравится

Рейтинг: +1 ( 1 за, 0 против)

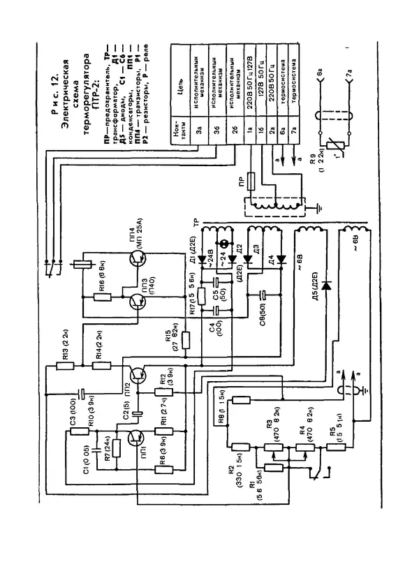
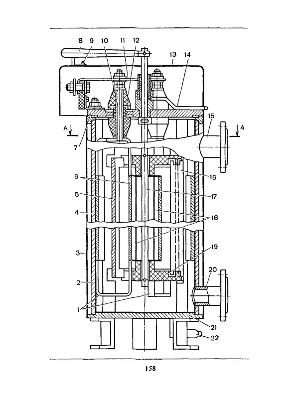
Спутник сельского электрика: Справочник.— 2-е изд., перераб. и доп. [Альберт Николаевич Михальчук] (djvu) читать онлайн

Книга в формате djvu! Изображения и текст могут не отображаться!


 [Настройки текста]  [Cбросить фильтры]

Альберт Михальчук - Спутник сельского электрика: Справочник.— 2-е изд., перераб. и доп.

Альберт Михальчук - Спутник сельского электрика: Справочник.— 2-е изд., перераб. и доп. - Страница № 1

Альберт Михальчук - Спутник сельского электрика: Справочник.— 2-е изд., перераб. и доп. - Страница № 2

Альберт Михальчук - Спутник сельского электрика: Справочник.— 2-е изд., перераб. и доп. - Страница № 3

Альберт Михальчук - Спутник сельского электрика: Справочник.— 2-е изд., перераб. и доп. - Страница № 4

Альберт Михальчук - Спутник сельского электрика: Справочник.— 2-е изд., перераб. и доп. - Страница № 5

Альберт Михальчук - Спутник сельского электрика: Справочник.— 2-е изд., перераб. и доп. - Страница № 6

Альберт Михальчук - Спутник сельского электрика: Справочник.— 2-е изд., перераб. и доп. - Страница № 7

Альберт Михальчук - Спутник сельского электрика: Справочник.— 2-е изд., перераб. и доп. - Страница № 8

Альберт Михальчук - Спутник сельского электрика: Справочник.— 2-е изд., перераб. и доп. - Страница № 9

Альберт Михальчук - Спутник сельского электрика: Справочник.— 2-е изд., перераб. и доп. - Страница № 10

Альберт Михальчук - Спутник сельского электрика: Справочник.— 2-е изд., перераб. и доп. - Страница № 11

Альберт Михальчук - Спутник сельского электрика: Справочник.— 2-е изд., перераб. и доп. - Страница № 12

Альберт Михальчук - Спутник сельского электрика: Справочник.— 2-е изд., перераб. и доп. - Страница № 13

Альберт Михальчук - Спутник сельского электрика: Справочник.— 2-е изд., перераб. и доп. - Страница № 14

Альберт Михальчук - Спутник сельского электрика: Справочник.— 2-е изд., перераб. и доп. - Страница № 15

Альберт Михальчук - Спутник сельского электрика: Справочник.— 2-е изд., перераб. и доп. - Страница № 16

Альберт Михальчук - Спутник сельского электрика: Справочник.— 2-е изд., перераб. и доп. - Страница № 17

Альберт Михальчук - Спутник сельского электрика: Справочник.— 2-е изд., перераб. и доп. - Страница № 18

Альберт Михальчук - Спутник сельского электрика: Справочник.— 2-е изд., перераб. и доп. - Страница № 19

Альберт Михальчук - Спутник сельского электрика: Справочник.— 2-е изд., перераб. и доп. - Страница № 20

Альберт Михальчук - Спутник сельского электрика: Справочник.— 2-е изд., перераб. и доп. - Страница № 21

Альберт Михальчук - Спутник сельского электрика: Справочник.— 2-е изд., перераб. и доп. - Страница № 22

Альберт Михальчук - Спутник сельского электрика: Справочник.— 2-е изд., перераб. и доп. - Страница № 23

Альберт Михальчук - Спутник сельского электрика: Справочник.— 2-е изд., перераб. и доп. - Страница № 24

Альберт Михальчук - Спутник сельского электрика: Справочник.— 2-е изд., перераб. и доп. - Страница № 25

Альберт Михальчук - Спутник сельского электрика: Справочник.— 2-е изд., перераб. и доп. - Страница № 26

Альберт Михальчук - Спутник сельского электрика: Справочник.— 2-е изд., перераб. и доп. - Страница № 27

Альберт Михальчук - Спутник сельского электрика: Справочник.— 2-е изд., перераб. и доп. - Страница № 28

Альберт Михальчук - Спутник сельского электрика: Справочник.— 2-е изд., перераб. и доп. - Страница № 29

Альберт Михальчук - Спутник сельского электрика: Справочник.— 2-е изд., перераб. и доп. - Страница № 30

Альберт Михальчук - Спутник сельского электрика: Справочник.— 2-е изд., перераб. и доп. - Страница № 31

Альберт Михальчук - Спутник сельского электрика: Справочник.— 2-е изд., перераб. и доп. - Страница № 32

Альберт Михальчук - Спутник сельского электрика: Справочник.— 2-е изд., перераб. и доп. - Страница № 33

Альберт Михальчук - Спутник сельского электрика: Справочник.— 2-е изд., перераб. и доп. - Страница № 34

Альберт Михальчук - Спутник сельского электрика: Справочник.— 2-е изд., перераб. и доп. - Страница № 35

Альберт Михальчук - Спутник сельского электрика: Справочник.— 2-е изд., перераб. и доп. - Страница № 36

Альберт Михальчук - Спутник сельского электрика: Справочник.— 2-е изд., перераб. и доп. - Страница № 37

Альберт Михальчук - Спутник сельского электрика: Справочник.— 2-е изд., перераб. и доп. - Страница № 38

Альберт Михальчук - Спутник сельского электрика: Справочник.— 2-е изд., перераб. и доп. - Страница № 39

Альберт Михальчук - Спутник сельского электрика: Справочник.— 2-е изд., перераб. и доп. - Страница № 40

Альберт Михальчук - Спутник сельского электрика: Справочник.— 2-е изд., перераб. и доп. - Страница № 41

Альберт Михальчук - Спутник сельского электрика: Справочник.— 2-е изд., перераб. и доп. - Страница № 42

Альберт Михальчук - Спутник сельского электрика: Справочник.— 2-е изд., перераб. и доп. - Страница № 43

Альберт Михальчук - Спутник сельского электрика: Справочник.— 2-е изд., перераб. и доп. - Страница № 44

Альберт Михальчук - Спутник сельского электрика: Справочник.— 2-е изд., перераб. и доп. - Страница № 45

Альберт Михальчук - Спутник сельского электрика: Справочник.— 2-е изд., перераб. и доп. - Страница № 46

Альберт Михальчук - Спутник сельского электрика: Справочник.— 2-е изд., перераб. и доп. - Страница № 47

Альберт Михальчук - Спутник сельского электрика: Справочник.— 2-е изд., перераб. и доп. - Страница № 48

Альберт Михальчук - Спутник сельского электрика: Справочник.— 2-е изд., перераб. и доп. - Страница № 49

Альберт Михальчук - Спутник сельского электрика: Справочник.— 2-е изд., перераб. и доп. - Страница № 50

Альберт Михальчук - Спутник сельского электрика: Справочник.— 2-е изд., перераб. и доп. - Страница № 51

Альберт Михальчук - Спутник сельского электрика: Справочник.— 2-е изд., перераб. и доп. - Страница № 52

Альберт Михальчук - Спутник сельского электрика: Справочник.— 2-е изд., перераб. и доп. - Страница № 53

Альберт Михальчук - Спутник сельского электрика: Справочник.— 2-е изд., перераб. и доп. - Страница № 54

Альберт Михальчук - Спутник сельского электрика: Справочник.— 2-е изд., перераб. и доп. - Страница № 55

Альберт Михальчук - Спутник сельского электрика: Справочник.— 2-е изд., перераб. и доп. - Страница № 56

Альберт Михальчук - Спутник сельского электрика: Справочник.— 2-е изд., перераб. и доп. - Страница № 57

Альберт Михальчук - Спутник сельского электрика: Справочник.— 2-е изд., перераб. и доп. - Страница № 58

Альберт Михальчук - Спутник сельского электрика: Справочник.— 2-е изд., перераб. и доп. - Страница № 59

Альберт Михальчук - Спутник сельского электрика: Справочник.— 2-е изд., перераб. и доп. - Страница № 60

Альберт Михальчук - Спутник сельского электрика: Справочник.— 2-е изд., перераб. и доп. - Страница № 61

Альберт Михальчук - Спутник сельского электрика: Справочник.— 2-е изд., перераб. и доп. - Страница № 62

Альберт Михальчук - Спутник сельского электрика: Справочник.— 2-е изд., перераб. и доп. - Страница № 63

Альберт Михальчук - Спутник сельского электрика: Справочник.— 2-е изд., перераб. и доп. - Страница № 64

Альберт Михальчук - Спутник сельского электрика: Справочник.— 2-е изд., перераб. и доп. - Страница № 65

Альберт Михальчук - Спутник сельского электрика: Справочник.— 2-е изд., перераб. и доп. - Страница № 66

Альберт Михальчук - Спутник сельского электрика: Справочник.— 2-е изд., перераб. и доп. - Страница № 67

Альберт Михальчук - Спутник сельского электрика: Справочник.— 2-е изд., перераб. и доп. - Страница № 68

Альберт Михальчук - Спутник сельского электрика: Справочник.— 2-е изд., перераб. и доп. - Страница № 69

Альберт Михальчук - Спутник сельского электрика: Справочник.— 2-е изд., перераб. и доп. - Страница № 70

Альберт Михальчук - Спутник сельского электрика: Справочник.— 2-е изд., перераб. и доп. - Страница № 71

Альберт Михальчук - Спутник сельского электрика: Справочник.— 2-е изд., перераб. и доп. - Страница № 72

Альберт Михальчук - Спутник сельского электрика: Справочник.— 2-е изд., перераб. и доп. - Страница № 73

Альберт Михальчук - Спутник сельского электрика: Справочник.— 2-е изд., перераб. и доп. - Страница № 74

Альберт Михальчук - Спутник сельского электрика: Справочник.— 2-е изд., перераб. и доп. - Страница № 75

Альберт Михальчук - Спутник сельского электрика: Справочник.— 2-е изд., перераб. и доп. - Страница № 76

Альберт Михальчук - Спутник сельского электрика: Справочник.— 2-е изд., перераб. и доп. - Страница № 77

Альберт Михальчук - Спутник сельского электрика: Справочник.— 2-е изд., перераб. и доп. - Страница № 78

Альберт Михальчук - Спутник сельского электрика: Справочник.— 2-е изд., перераб. и доп. - Страница № 79

Альберт Михальчук - Спутник сельского электрика: Справочник.— 2-е изд., перераб. и доп. - Страница № 80

Альберт Михальчук - Спутник сельского электрика: Справочник.— 2-е изд., перераб. и доп. - Страница № 81

Альберт Михальчук - Спутник сельского электрика: Справочник.— 2-е изд., перераб. и доп. - Страница № 82

Альберт Михальчук - Спутник сельского электрика: Справочник.— 2-е изд., перераб. и доп. - Страница № 83

Альберт Михальчук - Спутник сельского электрика: Справочник.— 2-е изд., перераб. и доп. - Страница № 84

Альберт Михальчук - Спутник сельского электрика: Справочник.— 2-е изд., перераб. и доп. - Страница № 85

Альберт Михальчук - Спутник сельского электрика: Справочник.— 2-е изд., перераб. и доп. - Страница № 86

Альберт Михальчук - Спутник сельского электрика: Справочник.— 2-е изд., перераб. и доп. - Страница № 87

Альберт Михальчук - Спутник сельского электрика: Справочник.— 2-е изд., перераб. и доп. - Страница № 88

Альберт Михальчук - Спутник сельского электрика: Справочник.— 2-е изд., перераб. и доп. - Страница № 89

Альберт Михальчук - Спутник сельского электрика: Справочник.— 2-е изд., перераб. и доп. - Страница № 90

Альберт Михальчук - Спутник сельского электрика: Справочник.— 2-е изд., перераб. и доп. - Страница № 91

Альберт Михальчук - Спутник сельского электрика: Справочник.— 2-е изд., перераб. и доп. - Страница № 92

Альберт Михальчук - Спутник сельского электрика: Справочник.— 2-е изд., перераб. и доп. - Страница № 93

Альберт Михальчук - Спутник сельского электрика: Справочник.— 2-е изд., перераб. и доп. - Страница № 94

Альберт Михальчук - Спутник сельского электрика: Справочник.— 2-е изд., перераб. и доп. - Страница № 95

Альберт Михальчук - Спутник сельского электрика: Справочник.— 2-е изд., перераб. и доп. - Страница № 96

Альберт Михальчук - Спутник сельского электрика: Справочник.— 2-е изд., перераб. и доп. - Страница № 97

Альберт Михальчук - Спутник сельского электрика: Справочник.— 2-е изд., перераб. и доп. - Страница № 98

Альберт Михальчук - Спутник сельского электрика: Справочник.— 2-е изд., перераб. и доп. - Страница № 99

Альберт Михальчук - Спутник сельского электрика: Справочник.— 2-е изд., перераб. и доп. - Страница № 100

Альберт Михальчук - Спутник сельского электрика: Справочник.— 2-е изд., перераб. и доп. - Страница № 101

Альберт Михальчук - Спутник сельского электрика: Справочник.— 2-е изд., перераб. и доп. - Страница № 102

Альберт Михальчук - Спутник сельского электрика: Справочник.— 2-е изд., перераб. и доп. - Страница № 103

Альберт Михальчук - Спутник сельского электрика: Справочник.— 2-е изд., перераб. и доп. - Страница № 104

Альберт Михальчук - Спутник сельского электрика: Справочник.— 2-е изд., перераб. и доп. - Страница № 105

Альберт Михальчук - Спутник сельского электрика: Справочник.— 2-е изд., перераб. и доп. - Страница № 106

Альберт Михальчук - Спутник сельского электрика: Справочник.— 2-е изд., перераб. и доп. - Страница № 107

Альберт Михальчук - Спутник сельского электрика: Справочник.— 2-е изд., перераб. и доп. - Страница № 108

Альберт Михальчук - Спутник сельского электрика: Справочник.— 2-е изд., перераб. и доп. - Страница № 109

Альберт Михальчук - Спутник сельского электрика: Справочник.— 2-е изд., перераб. и доп. - Страница № 110

Альберт Михальчук - Спутник сельского электрика: Справочник.— 2-е изд., перераб. и доп. - Страница № 111

Альберт Михальчук - Спутник сельского электрика: Справочник.— 2-е изд., перераб. и доп. - Страница № 112

Альберт Михальчук - Спутник сельского электрика: Справочник.— 2-е изд., перераб. и доп. - Страница № 113

Альберт Михальчук - Спутник сельского электрика: Справочник.— 2-е изд., перераб. и доп. - Страница № 114

Альберт Михальчук - Спутник сельского электрика: Справочник.— 2-е изд., перераб. и доп. - Страница № 115

Альберт Михальчук - Спутник сельского электрика: Справочник.— 2-е изд., перераб. и доп. - Страница № 116

Альберт Михальчук - Спутник сельского электрика: Справочник.— 2-е изд., перераб. и доп. - Страница № 117

Альберт Михальчук - Спутник сельского электрика: Справочник.— 2-е изд., перераб. и доп. - Страница № 118

Альберт Михальчук - Спутник сельского электрика: Справочник.— 2-е изд., перераб. и доп. - Страница № 119

Альберт Михальчук - Спутник сельского электрика: Справочник.— 2-е изд., перераб. и доп. - Страница № 120

Альберт Михальчук - Спутник сельского электрика: Справочник.— 2-е изд., перераб. и доп. - Страница № 121

Альберт Михальчук - Спутник сельского электрика: Справочник.— 2-е изд., перераб. и доп. - Страница № 122

Альберт Михальчук - Спутник сельского электрика: Справочник.— 2-е изд., перераб. и доп. - Страница № 123

Альберт Михальчук - Спутник сельского электрика: Справочник.— 2-е изд., перераб. и доп. - Страница № 124

Альберт Михальчук - Спутник сельского электрика: Справочник.— 2-е изд., перераб. и доп. - Страница № 125

Альберт Михальчук - Спутник сельского электрика: Справочник.— 2-е изд., перераб. и доп. - Страница № 126

Альберт Михальчук - Спутник сельского электрика: Справочник.— 2-е изд., перераб. и доп. - Страница № 127

Альберт Михальчук - Спутник сельского электрика: Справочник.— 2-е изд., перераб. и доп. - Страница № 128

Альберт Михальчук - Спутник сельского электрика: Справочник.— 2-е изд., перераб. и доп. - Страница № 129

Альберт Михальчук - Спутник сельского электрика: Справочник.— 2-е изд., перераб. и доп. - Страница № 130

Альберт Михальчук - Спутник сельского электрика: Справочник.— 2-е изд., перераб. и доп. - Страница № 131

Альберт Михальчук - Спутник сельского электрика: Справочник.— 2-е изд., перераб. и доп. - Страница № 132

Альберт Михальчук - Спутник сельского электрика: Справочник.— 2-е изд., перераб. и доп. - Страница № 133

Альберт Михальчук - Спутник сельского электрика: Справочник.— 2-е изд., перераб. и доп. - Страница № 134

Альберт Михальчук - Спутник сельского электрика: Справочник.— 2-е изд., перераб. и доп. - Страница № 135

Альберт Михальчук - Спутник сельского электрика: Справочник.— 2-е изд., перераб. и доп. - Страница № 136

Альберт Михальчук - Спутник сельского электрика: Справочник.— 2-е изд., перераб. и доп. - Страница № 137

Альберт Михальчук - Спутник сельского электрика: Справочник.— 2-е изд., перераб. и доп. - Страница № 138

Альберт Михальчук - Спутник сельского электрика: Справочник.— 2-е изд., перераб. и доп. - Страница № 139

Альберт Михальчук - Спутник сельского электрика: Справочник.— 2-е изд., перераб. и доп. - Страница № 140

Альберт Михальчук - Спутник сельского электрика: Справочник.— 2-е изд., перераб. и доп. - Страница № 141

Альберт Михальчук - Спутник сельского электрика: Справочник.— 2-е изд., перераб. и доп. - Страница № 142

Альберт Михальчук - Спутник сельского электрика: Справочник.— 2-е изд., перераб. и доп. - Страница № 143

Альберт Михальчук - Спутник сельского электрика: Справочник.— 2-е изд., перераб. и доп. - Страница № 144

Альберт Михальчук - Спутник сельского электрика: Справочник.— 2-е изд., перераб. и доп. - Страница № 145

Альберт Михальчук - Спутник сельского электрика: Справочник.— 2-е изд., перераб. и доп. - Страница № 146

Альберт Михальчук - Спутник сельского электрика: Справочник.— 2-е изд., перераб. и доп. - Страница № 147

Альберт Михальчук - Спутник сельского электрика: Справочник.— 2-е изд., перераб. и доп. - Страница № 148

Альберт Михальчук - Спутник сельского электрика: Справочник.— 2-е изд., перераб. и доп. - Страница № 149

Альберт Михальчук - Спутник сельского электрика: Справочник.— 2-е изд., перераб. и доп. - Страница № 150

Альберт Михальчук - Спутник сельского электрика: Справочник.— 2-е изд., перераб. и доп. - Страница № 151

Альберт Михальчук - Спутник сельского электрика: Справочник.— 2-е изд., перераб. и доп. - Страница № 152

Альберт Михальчук - Спутник сельского электрика: Справочник.— 2-е изд., перераб. и доп. - Страница № 153

Альберт Михальчук - Спутник сельского электрика: Справочник.— 2-е изд., перераб. и доп. - Страница № 154

Альберт Михальчук - Спутник сельского электрика: Справочник.— 2-е изд., перераб. и доп. - Страница № 155

Альберт Михальчук - Спутник сельского электрика: Справочник.— 2-е изд., перераб. и доп. - Страница № 156

Альберт Михальчук - Спутник сельского электрика: Справочник.— 2-е изд., перераб. и доп. - Страница № 157

Альберт Михальчук - Спутник сельского электрика: Справочник.— 2-е изд., перераб. и доп. - Страница № 158

Альберт Михальчук - Спутник сельского электрика: Справочник.— 2-е изд., перераб. и доп. - Страница № 159

Альберт Михальчук - Спутник сельского электрика: Справочник.— 2-е изд., перераб. и доп. - Страница № 160

Альберт Михальчук - Спутник сельского электрика: Справочник.— 2-е изд., перераб. и доп. - Страница № 161

Альберт Михальчук - Спутник сельского электрика: Справочник.— 2-е изд., перераб. и доп. - Страница № 162

Альберт Михальчук - Спутник<!--p--><!--p--><!--p--><!--p--><!--p--><!--p--><!--p--><!--p--><!--p--><!--p--><!--p--><!--p--><!--p--><!--p--><!--p--><!--p--><!--p--><!--p--><!--p--><!--p--><!--p--><!--p--><!--p--><!--p--><!--p--><!--p--><!--p--><!--p--><!--p--><!--p--><!--p--><!--p--><!--p--><!--p--><!--p--><!--p--><!--p--><!--p--><!--p--><!--p--><!--p--><!--p--><!--p--><!--p--><!--p--><!--p--><!--p--><!--p--><!--p--><!--p--><!--p--><!--p--><!--p--><!--p--><!--p--><!--p--><!--p--><!--p--><!--p--><!--p--><!--p--><!--p--><!--p--><!--p--><!--p--><!--p--><!--p--><!--p--><!--p--><!--p--><!--p--><!--p--><!--p--><!--p--><!--p--><!--p--><!--p--><!--p--><!--p--><!--p--><!--p--><!--p--><!--p--><!--p--><!--p--><!--p--><!--p--><!--p--><!--p--><!--p--><!--p--><!--p--><!--p--><!--p--><!--p--><!--p--><!--p--><!--p--><!--p--><!--p--><!--p--><!--p--><!--p--><!--p--><!--p--><!--p--><!--p--><!--p--><!--p--><!--p--><!--p--><!--p--><!--p--><!--p--><!--p--><!--p--><!--p--><!--p--><!--p--><!--p--><!--p--><!--p--><!--p--><!--p--><!--p--><!--p--><!--p--><!--p--><!--p--><!--p--><!--p--><!--p--><!--p--><!--p--><!--p--><!--p--><!--p--><!--p--><!--p--><!--p--><!--p--><!--p--><!--p--><!--p--><!--p--><!--p--><!--p--><!--p--><!--p--><!--p--><!--p--><!--p--><!--p--><!--p--><!--p--><!--p--><!--p--><!--p--><!--p--><!--p--><!--p--><!--p--><!--p-->сельского электрика: Справочник.— 2-е изд., перераб. и доп. - Страница № 163

Альберт Михальчук - Спутник сельского электрика: Справочник.— 2-е изд., перераб. и доп. - Страница № 164

Альберт Михальчук - Спутник сельского электрика: Справочник.— 2-е изд., перераб. и доп. - Страница № 165

Альберт Михальчук - Спутник сельского электрика: Справочник.— 2-е изд., перераб. и доп. - Страница № 166

Альберт Михальчук - Спутник сельского электрика: Справочник.— 2-е изд., перераб. и доп. - Страница № 167

Альберт Михальчук - Спутник сельского электрика: Справочник.— 2-е изд., перераб. и доп. - Страница № 168

Альберт Михальчук - Спутник сельского электрика: Справочник.— 2-е изд., перераб. и доп. - Страница № 169

Альберт Михальчук - Спутник сельского электрика: Справочник.— 2-е изд., перераб. и доп. - Страница № 170

Альберт Михальчук - Спутник сельского электрика: Справочник.— 2-е изд., перераб. и доп. - Страница № 171

Альберт Михальчук - Спутник сельского электрика: Справочник.— 2-е изд., перераб. и доп. - Страница № 172

Альберт Михальчук - Спутник сельского электрика: Справочник.— 2-е изд., перераб. и доп. - Страница № 173

Альберт Михальчук - Спутник сельского электрика: Справочник.— 2-е изд., перераб. и доп. - Страница № 174

Альберт Михальчук - Спутник сельского электрика: Справочник.— 2-е изд., перераб. и доп. - Страница № 175

Альберт Михальчук - Спутник сельского электрика: Справочник.— 2-е изд., перераб. и доп. - Страница № 176

Альберт Михальчук - Спутник сельского электрика: Справочник.— 2-е изд., перераб. и доп. - Страница № 177

Альберт Михальчук - Спутник сельского электрика: Справочник.— 2-е изд., перераб. и доп. - Страница № 178

Альберт Михальчук - Спутник сельского электрика: Справочник.— 2-е изд., перераб. и доп. - Страница № 179

Альберт Михальчук - Спутник сельского электрика: Справочник.— 2-е изд., перераб. и доп. - Страница № 180

Альберт Михальчук - Спутник сельского электрика: Справочник.— 2-е изд., перераб. и доп. - Страница № 181

Альберт Михальчук - Спутник сельского электрика: Справочник.— 2-е изд., перераб. и доп. - Страница № 182

Альберт Михальчук - Спутник сельского электрика: Справочник.— 2-е изд., перераб. и доп. - Страница № 183

Альберт Михальчук - Спутник сельского электрика: Справочник.— 2-е изд., перераб. и доп. - Страница № 184

Альберт Михальчук - Спутник сельского электрика: Справочник.— 2-е изд., перераб. и доп. - Страница № 185

Альберт Михальчук - Спутник сельского электрика: Справочник.— 2-е изд., перераб. и доп. - Страница № 186

Альберт Михальчук - Спутник сельского электрика: Справочник.— 2-е изд., перераб. и доп. - Страница № 187

Альберт Михальчук - Спутник сельского электрика: Справочник.— 2-е изд., перераб. и доп. - Страница № 188

Альберт Михальчук - Спутник сельского электрика: Справочник.— 2-е изд., перераб. и доп. - Страница № 189

Альберт Михальчук - Спутник сельского электрика: Справочник.— 2-е изд., перераб. и доп. - Страница № 190

Альберт Михальчук - Спутник сельского электрика: Справочник.— 2-е изд., перераб. и доп. - Страница № 191

Альберт Михальчук - Спутник сельского электрика: Справочник.— 2-е изд., перераб. и доп. - Страница № 192

Альберт Михальчук - Спутник сельского электрика: Справочник.— 2-е изд., перераб. и доп. - Страница № 193

Альберт Михальчук - Спутник сельского электрика: Справочник.— 2-е изд., перераб. и доп. - Страница № 194

Альберт Михальчук - Спутник сельского электрика: Справочник.— 2-е изд., перераб. и доп. - Страница № 195

Альберт Михальчук - Спутник сельского электрика: Справочник.— 2-е изд., перераб. и доп. - Страница № 196

Альберт Михальчук - Спутник сельского электрика: Справочник.— 2-е изд., перераб. и доп. - Страница № 197

Альберт Михальчук - Спутник сельского электрика: Справочник.— 2-е изд., перераб. и доп. - Страница № 198

Альберт Михальчук - Спутник сельского электрика: Справочник.— 2-е изд., перераб. и доп. - Страница № 199

Альберт Михальчук - Спутник сельского электрика: Справочник.— 2-е изд., перераб. и доп. - Страница № 200

Альберт Михальчук - Спутник сельского электрика: Справочник.— 2-е изд., перераб. и доп. - Страница № 201

Альберт Михальчук - Спутник сельского электрика: Справочник.— 2-е изд., перераб. и доп. - Страница № 202

Альберт Михальчук - Спутник сельского электрика: Справочник.— 2-е изд., перераб. и доп. - Страница № 203

Альберт Михальчук - Спутник сельского электрика: Справочник.— 2-е изд., перераб. и доп. - Страница № 204

Альберт Михальчук - Спутник сельского электрика: Справочник.— 2-е изд., перераб. и доп. - Страница № 205

Альберт Михальчук - Спутник сельского электрика: Справочник.— 2-е изд., перераб. и доп. - Страница № 206

Альберт Михальчук - Спутник сельского электрика: Справочник.— 2-е изд., перераб. и доп. - Страница № 207

Альберт Михальчук - Спутник сельского электрика: Справочник.— 2-е изд., перераб. и доп. - Страница № 208

Альберт Михальчук - Спутник сельского электрика: Справочник.— 2-е изд., перераб. и доп. - Страница № 209

Альберт Михальчук - Спутник сельского электрика: Справочник.— 2-е изд., перераб. и доп. - Страница № 210

Альберт Михальчук - Спутник сельского электрика: Справочник.— 2-е изд., перераб. и доп. - Страница № 211

Альберт Михальчук - Спутник сельского электрика: Справочник.— 2-е изд., перераб. и доп. - Страница № 212

Альберт Михальчук - Спутник сельского электрика: Справочник.— 2-е изд., перераб. и доп. - Страница № 213

Альберт Михальчук - Спутник сельского электрика: Справочник.— 2-е изд., перераб. и доп. - Страница № 214

Альберт Михальчук - Спутник сельского электрика: Справочник.— 2-е изд., перераб. и доп. - Страница № 215

Альберт Михальчук - Спутник сельского электрика: Справочник.— 2-е изд., перераб. и доп. - Страница № 216

Альберт Михальчук - Спутник сельского электрика: Справочник.— 2-е изд., перераб. и доп. - Страница № 217

Альберт Михальчук - Спутник сельского электрика: Справочник.— 2-е изд., перераб. и доп. - Страница № 218

Альберт Михальчук - Спутник сельского электрика: Справочник.— 2-е изд., перераб. и доп. - Страница № 219

Альберт Михальчук - Спутник сельского электрика: Справочник.— 2-е изд., перераб. и доп. - Страница № 220

Альберт Михальчук - Спутник сельского электрика: Справочник.— 2-е изд., перераб. и доп. - Страница № 221

Альберт Михальчук - Спутник сельского электрика: Справочник.— 2-е изд., перераб. и доп. - Страница № 222

Альберт Михальчук - Спутник сельского электрика: Справочник.— 2-е изд., перераб. и доп. - Страница № 223

Альберт Михальчук - Спутник сельского электрика: Справочник.— 2-е изд., перераб. и доп. - Страница № 224

Альберт Михальчук - Спутник сельского электрика: Справочник.— 2-е изд., перераб. и доп. - Страница № 225

Альберт Михальчук - Спутник сельского электрика: Справочник.— 2-е изд., перераб. и доп. - Страница № 226

Альберт Михальчук - Спутник сельского электрика: Справочник.— 2-е изд., перераб. и доп. - Страница № 227

Альберт Михальчук - Спутник сельского электрика: Справочник.— 2-е изд., перераб. и доп. - Страница № 228

Альберт Михальчук - Спутник сельского электрика: Справочник.— 2-е изд., перераб. и доп. - Страница № 229

Альберт Михальчук - Спутник сельского электрика: Справочник.— 2-е изд., перераб. и доп. - Страница № 230

Альберт Михальчук - Спутник сельского электрика: Справочник.— 2-е изд., перераб. и доп. - Страница № 231

Альберт Михальчук - Спутник сельского электрика: Справочник.— 2-е изд., перераб. и доп. - Страница № 232

Альберт Михальчук - Спутник сельского электрика: Справочник.— 2-е изд., перераб. и доп. - Страница № 233

Альберт Михальчук - Спутник сельского электрика: Справочник.— 2-е изд., перераб. и доп. - Страница № 234

Альберт Михальчук - Спутник сельского электрика: Справочник.— 2-е изд., перераб. и доп. - Страница № 235

Альберт Михальчук - Спутник сельского электрика: Справочник.— 2-е изд., перераб. и доп. - Страница № 236

Альберт Михальчук - Спутник сельского электрика: Справочник.— 2-е изд., перераб. и доп. - Страница № 237

Альберт Михальчук - Спутник сельского электрика: Справочник.— 2-е изд., перераб. и доп. - Страница № 238

Альберт Михальчук - Спутник сельского электрика: Справочник.— 2-е изд., перераб. и доп. - Страница № 239

Альберт Михальчук - Спутник сельского электрика: Справочник.— 2-е изд., перераб. и доп. - Страница № 240

Альберт Михальчук - Спутник сельского электрика: Справочник.— 2-е изд., перераб. и доп. - Страница № 241

Альберт Михальчук - Спутник сельского электрика: Справочник.— 2-е изд., перераб. и доп. - Страница № 242

Альберт Михальчук - Спутник сельского электрика: Справочник.— 2-е изд., перераб. и доп. - Страница № 243

Альберт Михальчук - Спутник сельского электрика: Справочник.— 2-е изд., перераб. и доп. - Страница № 244

Альберт Михальчук - Спутник сельского электрика: Справочник.— 2-е изд., перераб. и доп. - Страница № 245

Альберт Михальчук - Спутник сельского электрика: Справочник.— 2-е изд., перераб. и доп. - Страница № 246

Альберт Михальчук - Спутник сельского электрика: Справочник.— 2-е изд., перераб. и доп. - Страница № 247

Альберт Михальчук - Спутник сельского электрика: Справочник.— 2-е изд., перераб. и доп. - Страница № 248

Альберт Михальчук - Спутник сельского электрика: Справочник.— 2-е изд., перераб. и доп. - Страница № 249

Альберт Михальчук - Спутник сельского электрика: Справочник.— 2-е изд., перераб. и доп. - Страница № 250

Альберт Михальчук - Спутник сельского электрика: Справочник.— 2-е изд., перераб. и доп. - Страница № 251

Альберт Михальчук - Спутник сельского электрика: Справочник.— 2-е изд., перераб. и доп. - Страница № 252

Альберт Михальчук - Спутник сельского электрика: Справочник.— 2-е изд., перераб. и доп. - Страница № 253

Альберт Михальчук - Спутник сельского электрика: Справочник.— 2-е изд., перераб. и доп. - Страница № 254

Альберт Михальчук - Спутник сельского электрика: Справочник.— 2-е изд., перераб. и доп. - Страница № 255

Альберт Михальчук - Спутник сельского электрика: Справочник.— 2-е изд., перераб. и доп. - Страница № 256

Альберт Михальчук - Спутник сельского электрика: Справочник.— 2-е изд., перераб. и доп. - Страница № 257

Альберт Михальчук - Спутник сельского электрика: Справочник.— 2-е изд., перераб. и доп. - Страница № 258

Альберт Михальчук - Спутник сельского электрика: Справочник.— 2-е изд., перераб. и доп. - Страница № 259