КулЛиб - Классная библиотека! Скачать книги бесплатно
Всего книг - 807594 томов
Объем библиотеки - 2154 Гб.
Всего авторов - 304985
Пользователей - 130514

Новое на форуме

Впечатления

Serg55 про Воронков: Бойся своих желаний (Фэнтези: прочее)

ГГ крут,но регулярно попадает ...как пацан

Рейтинг: 0 ( 0 за, 0 против)
Морпех про Стаут: Черные орхидеи (Детектив)

Замечания к предыдущей версии:

Рейтинг: 0 ( 0 за, 0 против)
yan.litt про Зубов: Последний попаданец (Боевая фантастика)

Прочитал 4.5 книги общее впечатление на четверку.
ГГ - ивалид, который при операции попал в новый мир, где есть система и прокачка. Ну попал он и фиг с ним - с кем не бывает. В общем попал он и давай осваиваться. Нашел себе учителя, который ему все показал и рассказал, сводил в проклятое место и прокачал малек. Ну а потом, учителя убивают и наш херой отправился в самостоятельноя плавание
Плюсы
1. Сюжет довольно динамический, постоянно

  подробнее ...

Рейтинг: +2 ( 2 за, 0 против)
iwanwed про Корнеев: Врач из будущего (Альтернативная история)

Жуткая антисоветчина! А как известно, поскреби получше любого антисоветчика - получишь русофоба.

Рейтинг: 0 ( 3 за, 3 против)
Serg55 про Воронков: Артефактор (Попаданцы)

как то обидно, ладно не хочет сувать кому попало, но обидеть женщину - не дать сделатть минет?

Рейтинг: +1 ( 1 за, 0 против)

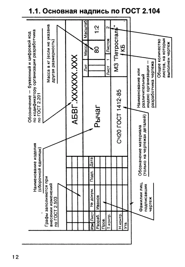
Чтение машиностроительных чертежей. Справочное пособие [Е. П. Шевченко] (djvu) читать постранично

Книга в формате djvu! Изображения и текст могут не отображаться!


 [Настройки текста]  [Cбросить фильтры]

Е. Шевченко - Чтение машиностроительных чертежей. Справочное пособие

Е. Шевченко - Чтение машиностроительных чертежей. Справочное пособие - Страница № 1

Е. Шевченко - Чтение машиностроительных чертежей. Справочное пособие - Страница № 2

Е. Шевченко - Чтение машиностроительных чертежей. Справочное пособие - Страница № 3

Е. Шевченко - Чтение машиностроительных чертежей. Справочное пособие - Страница № 4

Е. Шевченко - Чтение машиностроительных чертежей. Справочное пособие - Страница № 5

Е. Шевченко - Чтение машиностроительных чертежей. Справочное пособие - Страница № 6

Е. Шевченко - Чтение машиностроительных чертежей. Справочное пособие - Страница № 7

Е. Шевченко - Чтение машиностроительных чертежей. Справочное пособие - Страница № 8

Е. Шевченко - Чтение машиностроительных чертежей. Справочное пособие - Страница № 9

Е. Шевченко - Чтение машиностроительных чертежей. Справочное пособие - Страница № 10

Е. Шевченко - Чтение машиностроительных чертежей. Справочное пособие - Страница № 11

Е. Шевченко - Чтение машиностроительных чертежей. Справочное пособие - Страница № 12

Е. Шевченко - Чтение машиностроительных чертежей. Справочное пособие - Страница № 13

Е. Шевченко - Чтение машиностроительных чертежей. Справочное пособие - Страница № 14

Е. Шевченко - Чтение машиностроительных чертежей. Справочное пособие - Страница № 15

Е. Шевченко - Чтение машиностроительных чертежей. Справочное пособие - Страница № 16

Е. Шевченко - Чтение машиностроительных чертежей. Справочное пособие - Страница № 17

Е. Шевченко - Чтение машиностроительных чертежей. Справочное пособие - Страница № 18

Е. Шевченко - Чтение машиностроительных чертежей. Справочное пособие - Страница № 19

Е. Шевченко - Чтение машиностроительных чертежей. Справочное пособие - Страница № 20

Е. Шевченко - Чтение машиностроительных чертежей. Справочное пособие - Страница № 21

--">